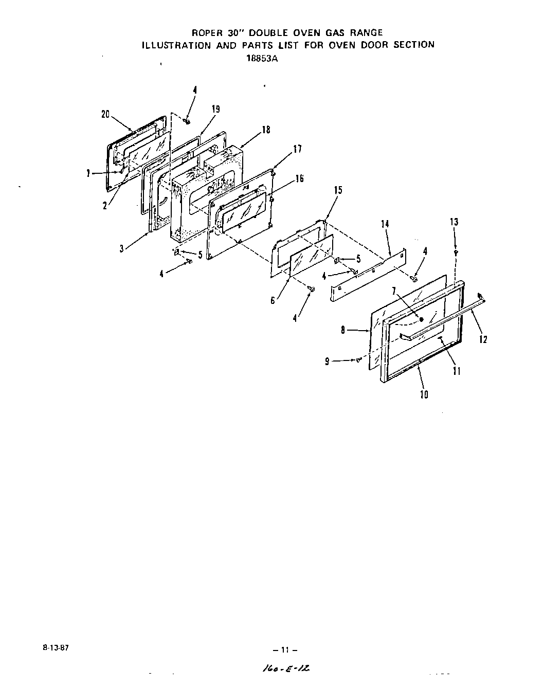
1885W3A 09 – OVEN DOOR