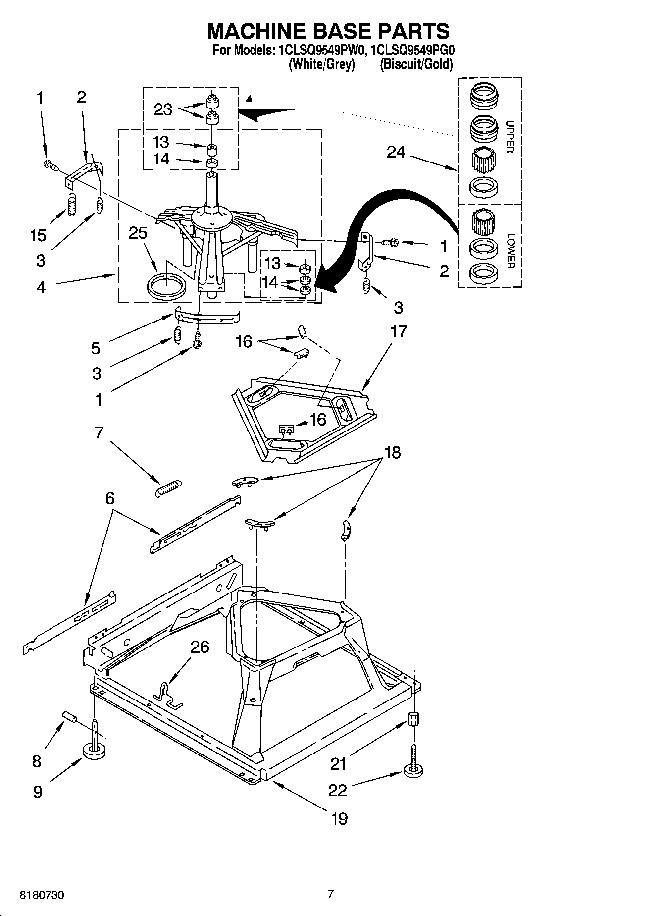
1CLSQ9549PG0 04 – MACHINE BASE PARTS