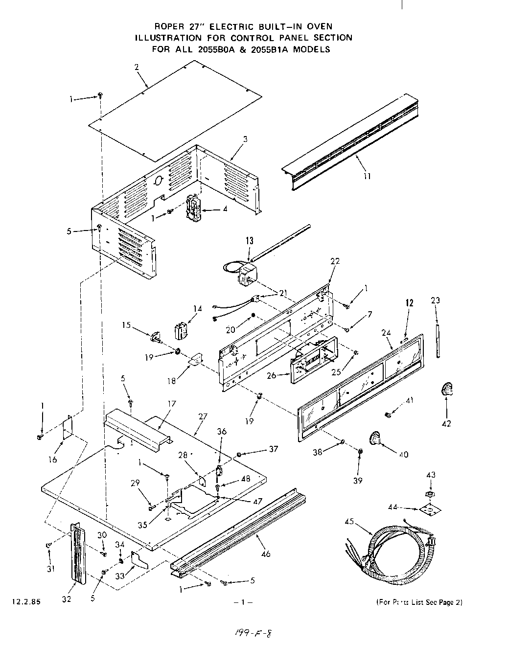
2055B0A 02 – CONTROL PANEL