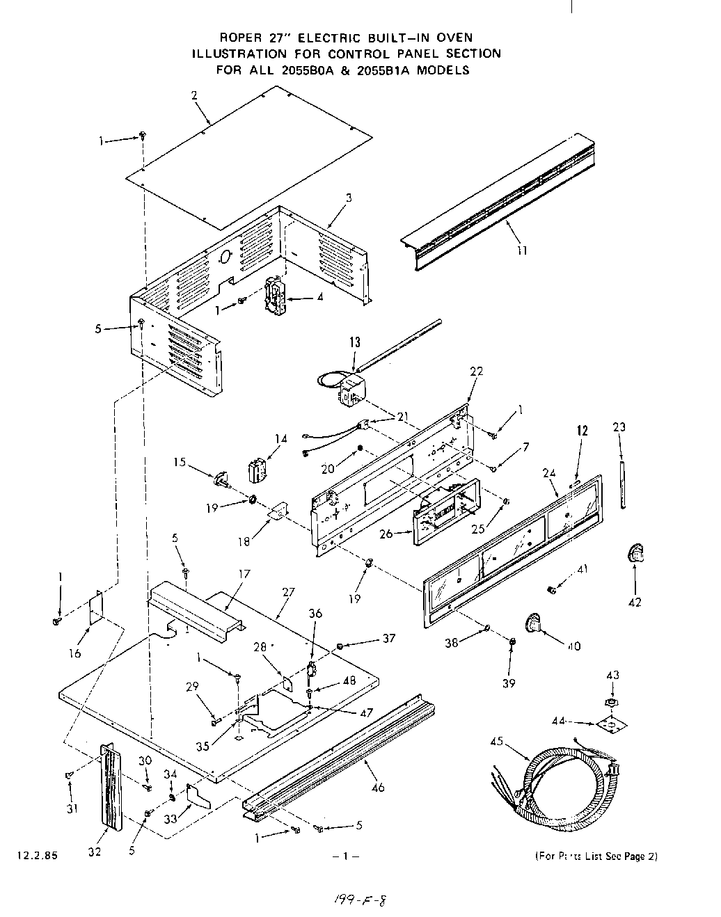
2055B1A 02 – CONTROL PANELadmin2025-04-26T08:59:01+00:002055B1A 02 – CONTROL PANEL ProductsPositionProduct1Screw 10 - 32 x 7/16``2Top-Control Housing3Control Housing4Oven Relay5WP112432 Whirlpool Nut Assembly7WPL 7856511Top Trim12Cushion-Door Glass13Oven Thermostat14Selector Switch15Push Switch-Oven Light16Control Panel Support (Lt. or Rt.)17Wire Cover18Shield-Switch19Lock Nut20Keps Nut 10-2421Indicator Light22Mounting Panel-Controls23End Trim-Control Panel Glass (Rt or Lt)24Control Panel Glass25Lens-Indicator Light26Clock w/1 Hr. Timer27Cabinet Top28Insulator29Screw 4-40x3/4``30Screw 6-32x1/4``31Screw 6-32 x 1/2``32Side Trim-Control Panel32Left32Right33Heat Shield (Lt. or Rt.)34Washer35Bracket-Micro Switch36Micro Switch - Lock37Keps Nut 4-4038Washer39Knurled Nut40Knob-Selector Switch41Knob-Clock (Start & Stop Time)42Knob-Oven Thermostat43Nut (For Key 45)44Plate (For Key 45)45Harness Conduit Asm.46Control Panel Trim47Cover Plate-Lock48WPL 295850