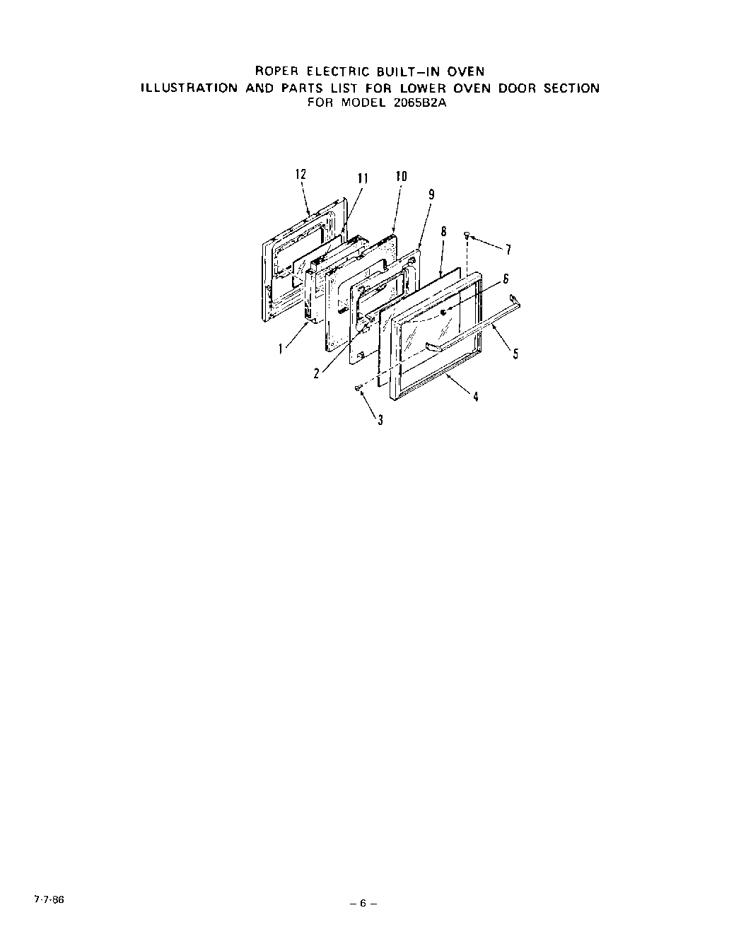
2065B2A 06 – LOWER OVEN DOOR , LIT/OPTIONALadmin2025-04-26T09:00:26+00:002065B2A 06 – LOWER OVEN DOOR , LIT/OPTIONAL ProductsPositionProductxWire Harness1Insulation-Oven Door Plug2WP112432 Whirlpool Nut Assembly3Screw 8-32 x 1/2``4Frame-Oven Door5Handle-Oven Door6Keps Nut 8-327Screw 6-20x3/8``8Oven Door Glass-Outer9Retainer-Oven Door Insulation10Oven Door Glass-Center10Insulation-Oven Door Lining122065B1A Models12Lock Switch12Main