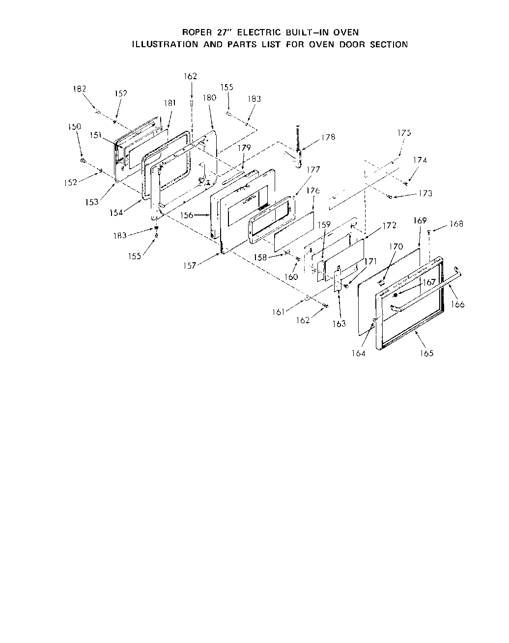
| 150 | Screw 10-32 x 1/2`` |
| 151 | Seal-Inner Glass |
| 152 | WPL 21067 |
| 153 | Plug-Oven Door Lining |
| 154 | Oven Door Gasket |
| 155 | Screw 10 - 32 x 1/4`` |
| 156 | Insulation-Oven Door Plug |
| 157 | Insulation-Oven Door Lining |
| 158 | Door Glass Retainer (4 Req) |
| 159 | Spacer-Oven Door Glass (Lt. or Rt.) |
| 160 | Screw 10-32x17/32`` |
| 161 | Retainer-Oven Door Insulation |
| 162 | WP112432 Whirlpool Nut Assembly |
| 163 | WP487353 Whirlpool Refrigerator Screw |
| 164 | Screw 8-32 x 1/2`` |
| 165 | Frame-Oven Door |
| 166 | Oven Door Handle |
| 167 | Keps Nut 8-32 |
| 168 | Screw 6-32x3/8`` |
| 169 | Oven Door Glass-Outer |
| 170 | Door Glass Retainer (6 Req) |
| 171 | WPL 321162 |
| 172 | Oven Door Glass-Intermediate |
| 173 | Screw 10 - 32 x 7/16`` |
| 174 | Screw 6-32x1/4`` |
| 175 | Baffle-Oven Door Lining |
| 176 | Inner Glass-Oven Door |
| 177 | Retainer-Oven door Glass |
| 178 | Oven Door Hinge-Rt. or Lt. |
| 179 | WP312967 Whirlpool Clamp |
| 180 | Oven Door Lining |
| 181 | Inner Glass-Oven Door |
| 182 | Screw 10ABx1 |
| 183 | Washer |