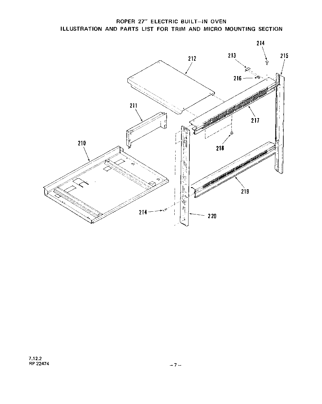
2092B0A 06 – TRIM AND MICRO MOUNTING, LIT/OPTIONALadmin2025-04-26T08:59:15+00:002092B0A 06 – TRIM AND MICRO MOUNTING, LIT/OPTIONAL ProductsPositionProductMain210Module Support Bottom211Vent Box212Extension-Vent213Bracket-Control Panel (2 Required)214Screw 6-32 x 1/2``215Right Side Trim216Screw 8ABx1/2``217Top Trim218WP112432 Whirlpool Nut Assembly219Lamp Shade220Electric Use & Care Guide220Left Side trim220Auxiliary220Repair Parts Manual220Installation & Reference Guide220Operating Guide220xWire Harness