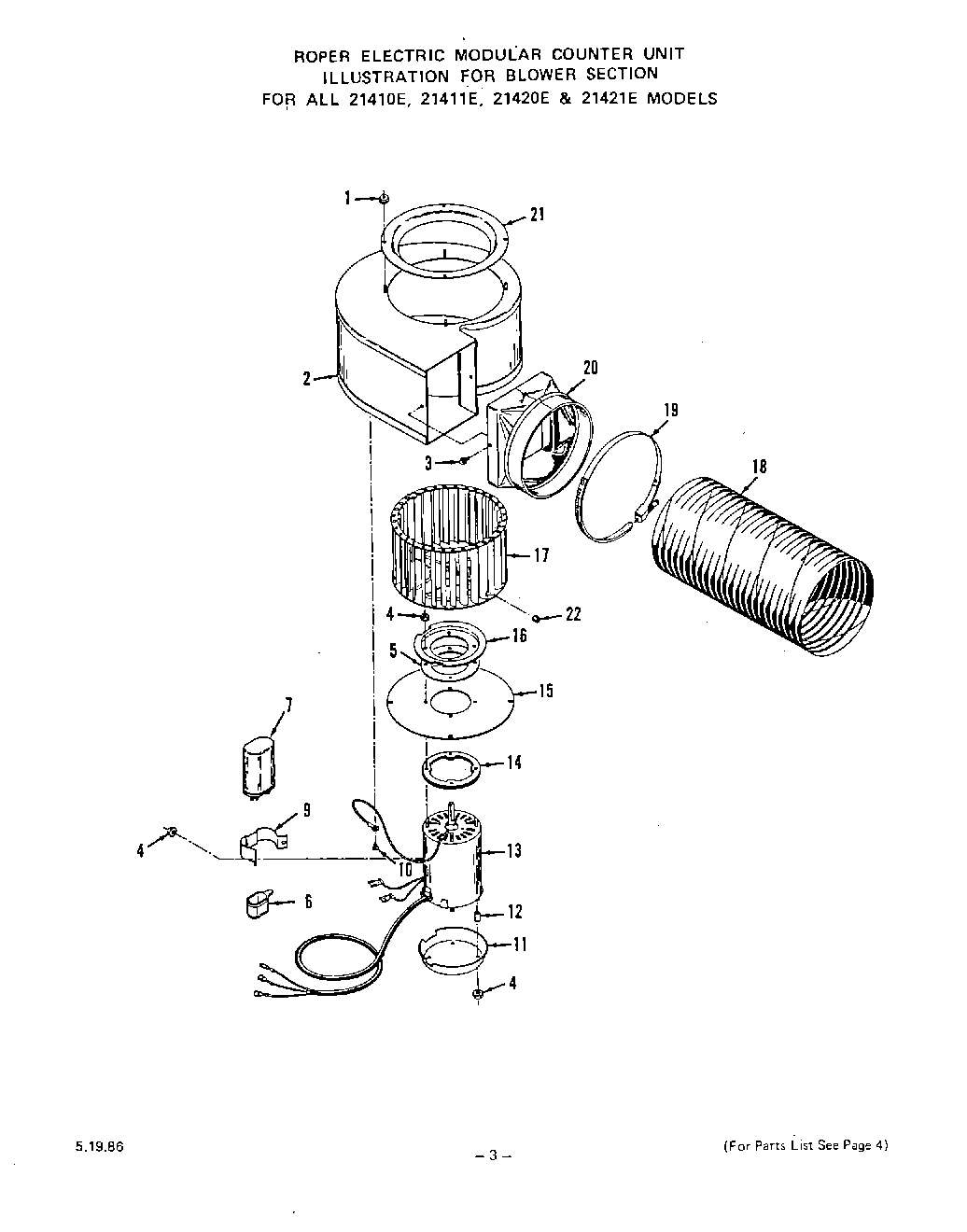
2142W1E 03 – BLOWERadmin2025-04-26T10:51:14+00:002142W1E 03 – BLOWER ProductsPositionProductxWire Harness1Lock Nut2Housing3Screw 10-16x7/16``4Keps Nut 8-325Gasket-Motor Seal6Cap-Capacitor7Capacitor9Bracket-Capacitor10Screw 8ABx1/4``11Shield-Motor12Spacer (4 Req)13Motor14Rubber Motor Mount15Plate-Motor Mount16Seal-Motor17Impellor18Flexible Hose19Clamp-Hose20Discharge-Blower21Inlet Ring22All 21420E Models22All 21410E Models22Set Screw 24-5/16``x3/8``