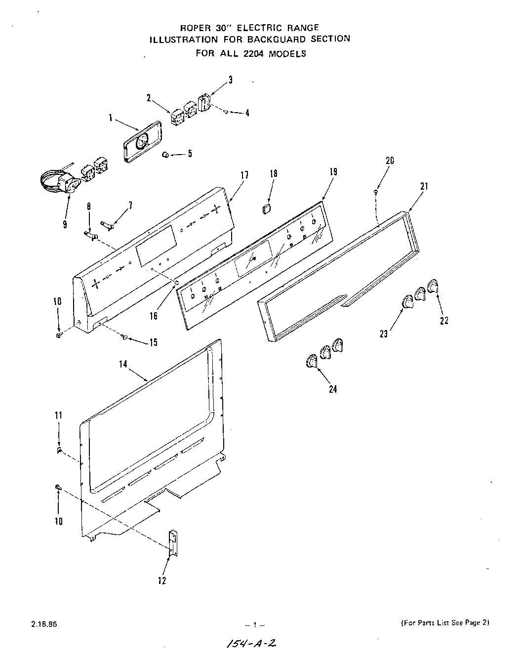
2204^1A 02 – BACKGUARD