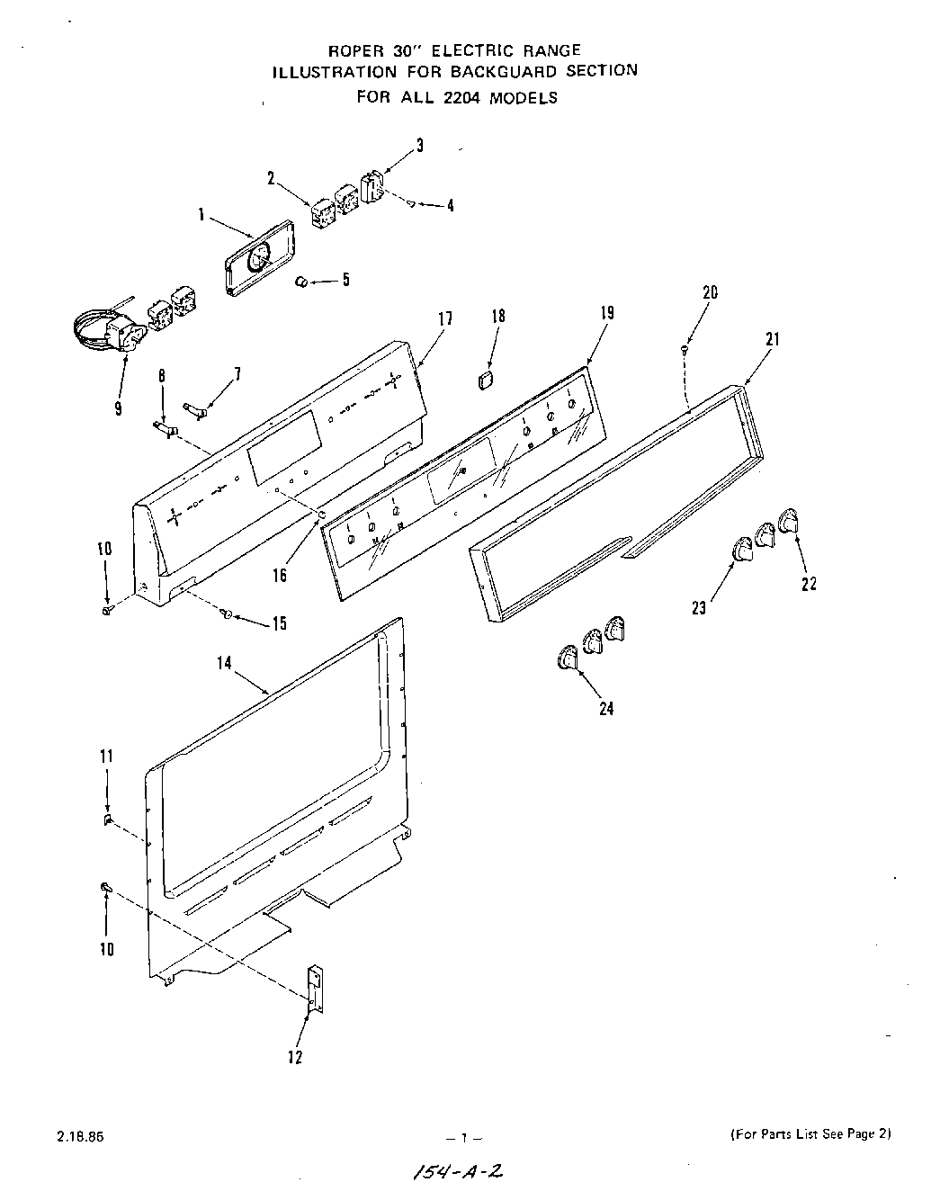
2204W0A 02 – BACKGUARD