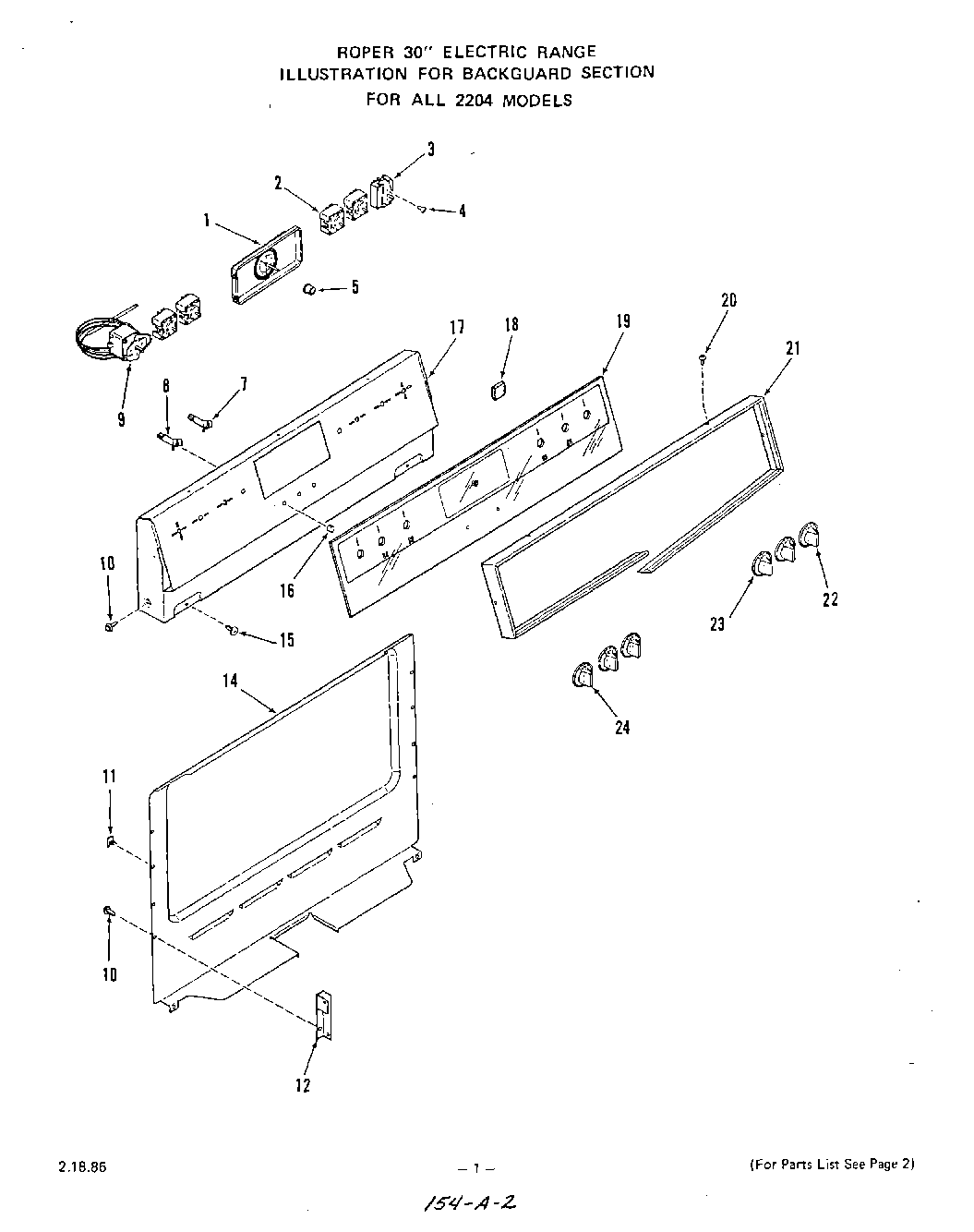
2204W1A 02 – BACKGUARD