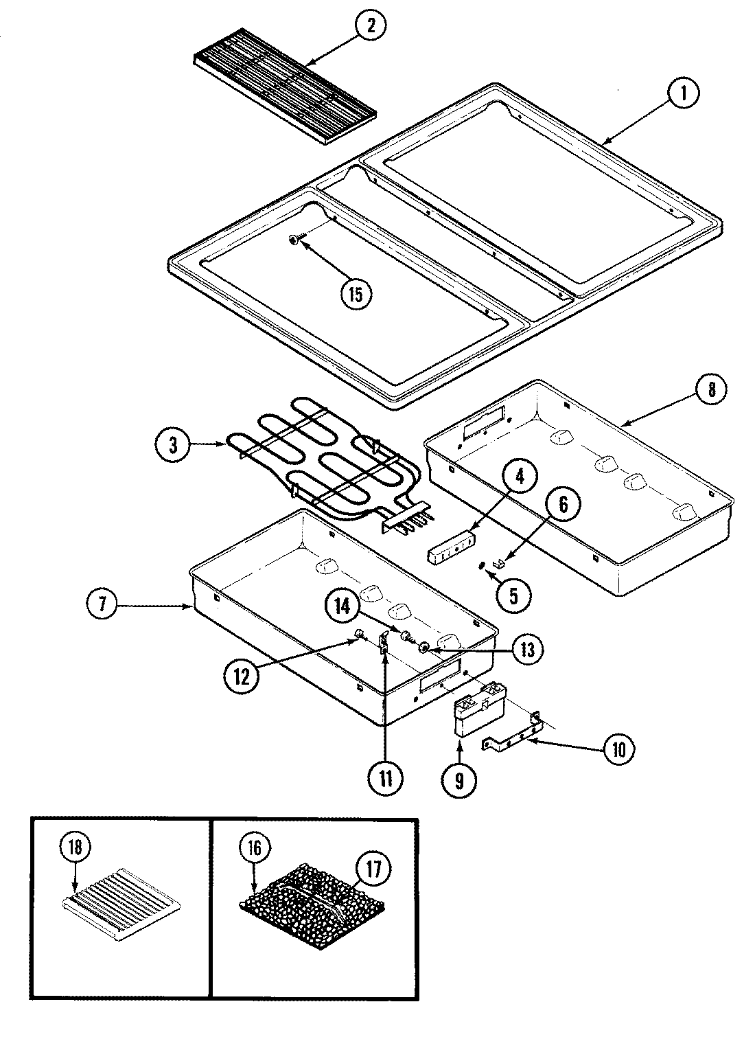
22112 04 – TOP ASSEMBLY