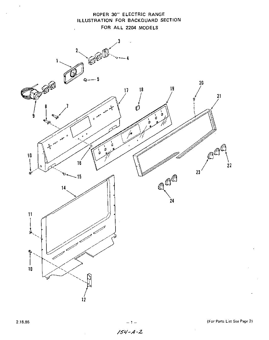
2214W0A 02 – BACKGUARD