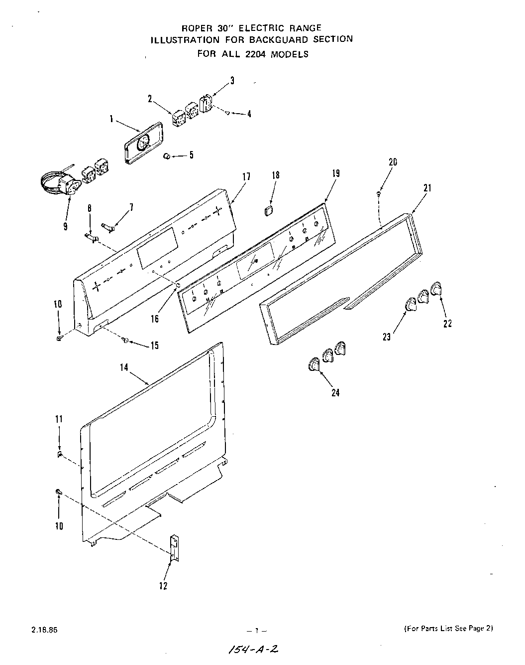
2214W1A 02 – BACKGUARD