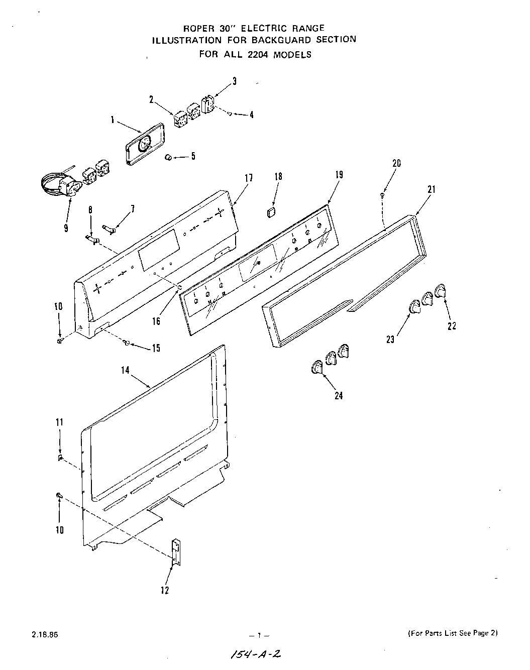
2214W2A 02 – BACKGUARD