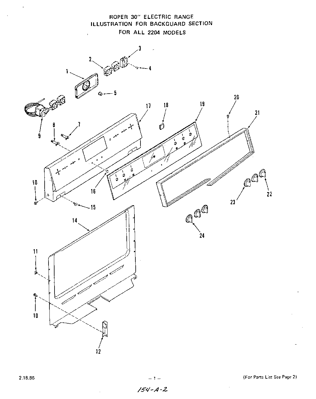
2234W1A 02 – BACKGUARD