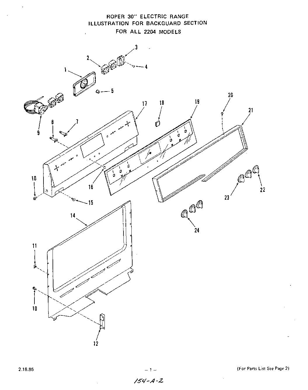
| 1 | Clock w/4 Hr. Timer |
| 1 | 22042A Models |
| 1 | 22040A & 1A Models |
| 2 | Infinite Control (Right) |
| 2 | Infinite Control (Left) |
| 2 | Infinite Control Switch |
| 2 | WPL 320944 |
| 3 | Selector Switch |
| 4 | WPL 78565 |
| 5 | Knob-Clock |
| 7 | Indicator Light |
| 8 | Indicator Light-Oven |
| 9 | Thermostat |
| 9 | 2214, 2224, 2234, 2244 0A & 1A Models |
| 9 | 2214, 2234, 2244 2A Models |
| 10 | Screw 10-16x7/16`` |
| 11 | Clip |
| 12 | Support-Backguard (Right) |
| 12 | Support-Backguard (Left) |
| 12 | Support-Backguard |
| 14 | Cover-Backguard Wire |
| 15 | Screw 10ABx1/2`` |
| 16 | Lens-Indicator Light |
| 17 | Almond 2214L & 2234L |
| 17 | Crosstie-Backguard |
| 17 | White 2214W &2234W |
| 18 | Space |
| 19 | Backguard Glass |
| 20 | Screw 6-20x3/8`` |
| 21 | Bezel-Backguard |
| 22 | Knob-Selector Switch |
| 23 | Knob-Infinite Control |
| 24 | Knob-Thermostat |