| xWire Harness |
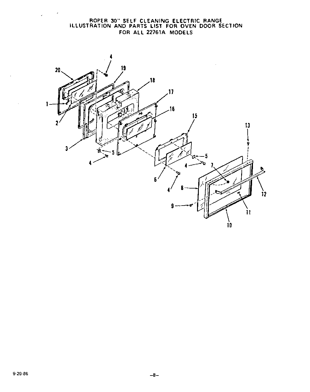
| 1 | Seal-Inner Glass |
| 2 | Inner Glass-Oven Door |
| 3 | Lining-Oven Door |
| 4 | Screw 10-16x7/16`` |
| 5 | Retainer-Door Glass |
| 6 | Intermediate Glass-Oven Door |
| 7 | Keps Nut 8-32 |
| 8 | outer glass-oven door |
| 9 | Screw 8-32 x 1/2`` |
| 10 | Frame-Oven Door |
| 11 | Cushion-Door Glass |
| 12 | Handle-Oven Door |
| 13 | Screw |
| 15 | Mounting Plate-Glass |
| 16 | Center Glass-Oven Door |
| 17 | Retainer-Oven Door Insulation |
| 18 | Insulation-Oven Door |
| 19 | Gasket-Oven Door |
| 20 | Thermostat |
| 20 | Main |
| 20 | Plug-Oven Door Lining |
| 20 | Main Top |