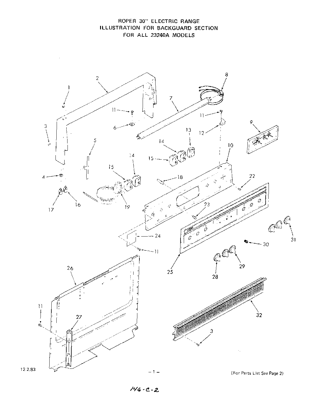
| 1 | Knurled Nut |
| 2 | Frame-Backguard |
| 3 | Screw 6-32x3/8`` |
| 4 | Lock Nut |
| 5 | End Trim- Top Lamp Glass (Lt. or Rt.) |
| 6 | Plate All 16331A,2A Models |
| 7 | Fluorescent Lamp (20 W - 24``) |
| 8 | Holder-Fluorescent Lamp (Left) |
| 8 | Holder-Fluorescent Lamp |
| 8 | Holder-Fluorescent Lamp (Right) |
| 9 | Clock w/1 Hr Timer |
| 10 | Mounting Panel-Controls |
| 11 | Screw 10-16x7/16`` |
| 12 | Bracket-Fluorescent Lamp (Rt. or Lt.) |
| 13 | Selector Switch |
| 14 | Right Front & Left Rear |
| 15 | Left Front & Right Rear |
| 16 | Push Switch-Fluorescent Lamp |
| 17 | Push Switch-Oven Light |
| 18 | Indicator Light |
| 18 | Indicator Light |
| 18 | Light-Indicator Oven |
| 19 | 2214, 2224, 2234, 2244 0A & 1A Models |
| 22 | WPL 78565 |
| 23 | Tubular Clip (4 Req.) |
| 24 | Shield Switch |
| 25 | Top Lamp Glass |
| 26 | Cover-Backguard Wire |
| 27 | Support-Backguard (Lt. or Rt.) |
| 28 | Knob-Thermostat |
| 29 | Knob-Infinite Switch (4 Req) |
| 30 | Knob-Clock (Start & Stop Time) |
| 31 | Knob-Selector |
| 32 | Bottom Front-Backguard |