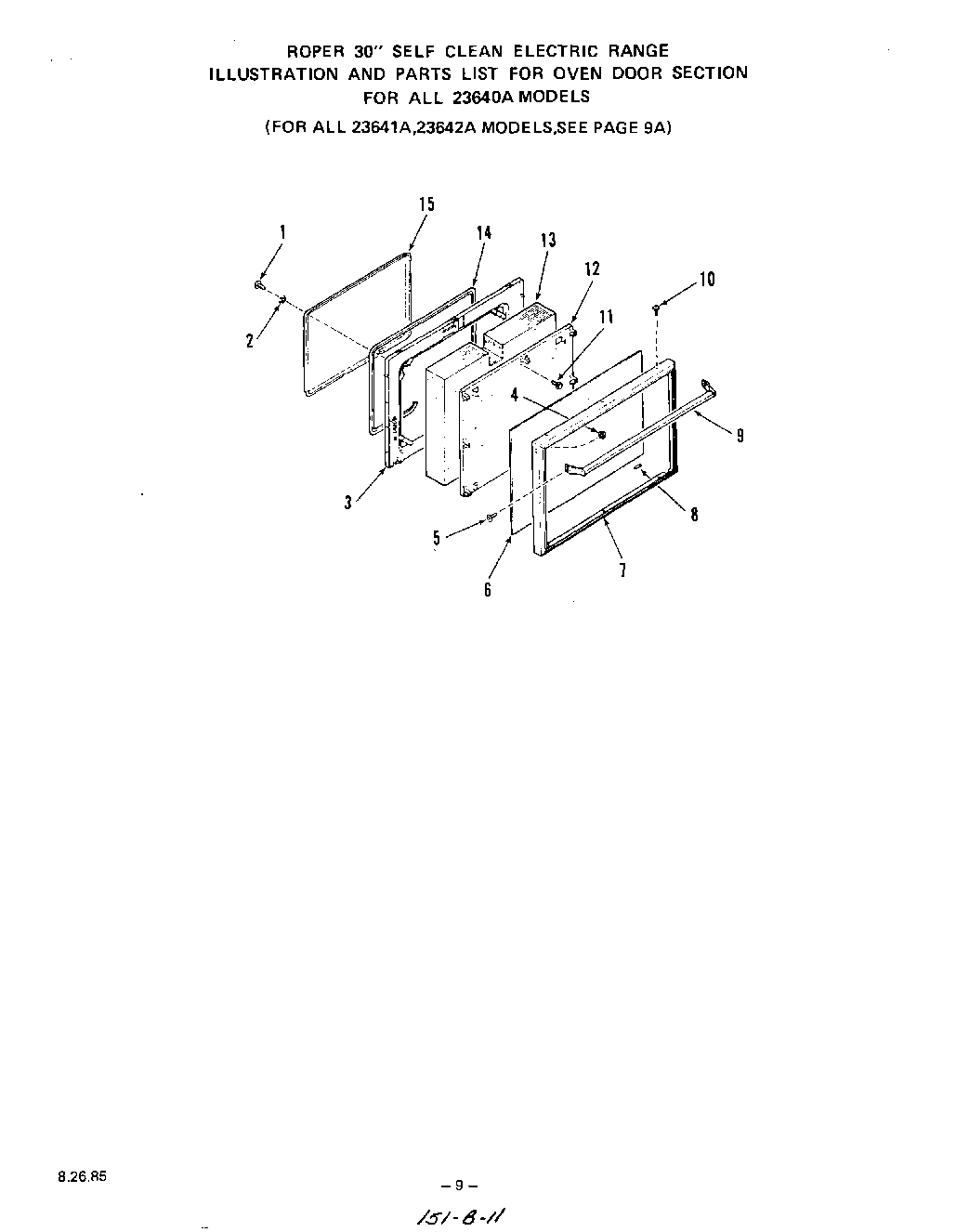
2354^2A 09 – SECTIONadmin2025-04-26T10:53:01+00:002354^2A 09 – SECTION ProductsPositionProduct1Screw 10-32 x 1/2``2WPL 210673Lining-Oven Door4Keps Nut 8-325Screw 8-32 x 1/2``6Glass-Oven Door7Frame-Oven Door8Cushion-Door Glass9Handle-Oven Door10Screw-10-32x1/2``11Screw 10-16x7/16``12Retainer-Insulation13Insulation-Oven Door14Gasket-Oven Door15Plug-Oven Door Lining