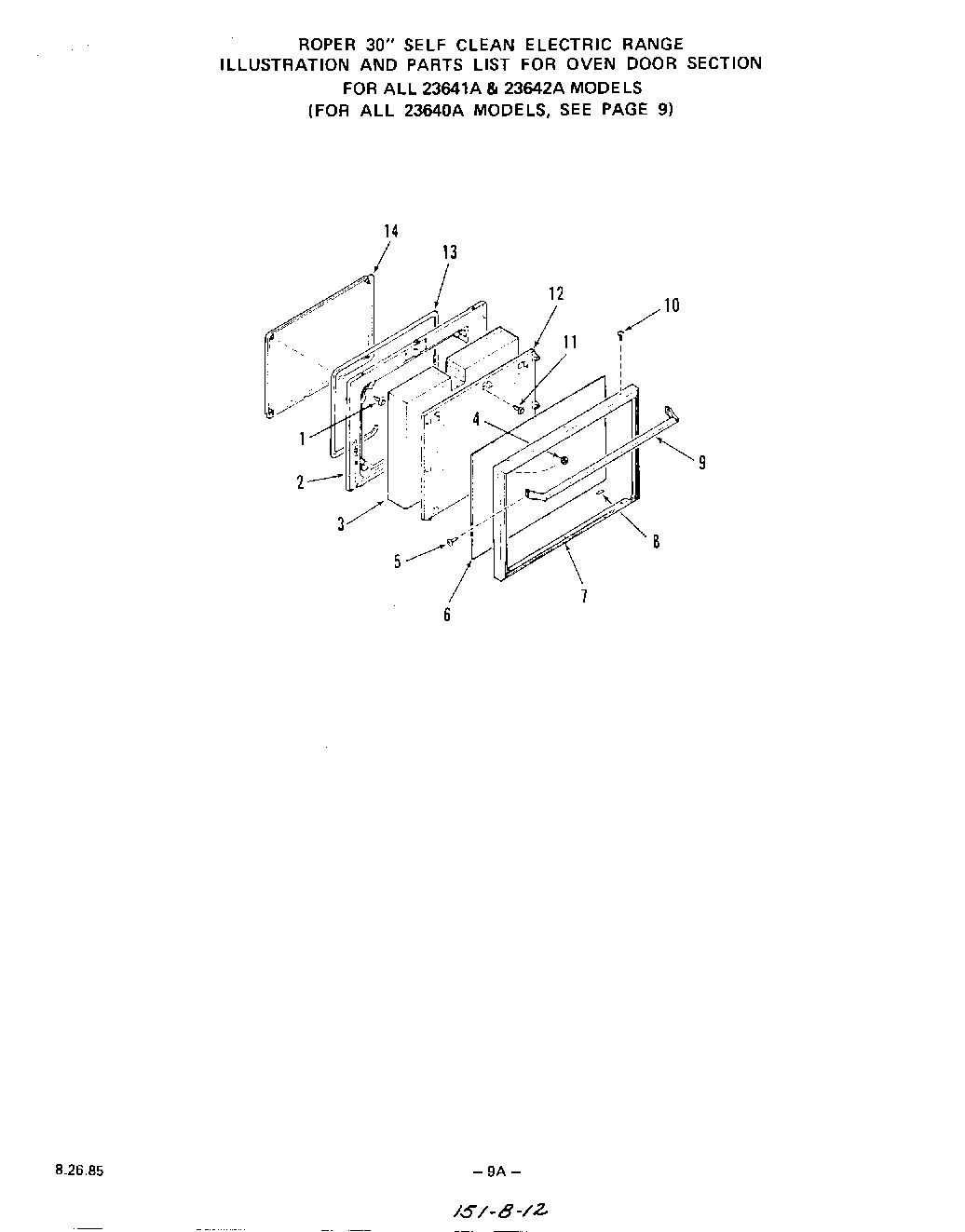
2354^2A 10 – SECTIONadmin2025-04-26T10:53:29+00:002354^2A 10 – SECTION ProductsPositionProductxWire Harness2All 23542A Models2Lining-Oven Door218850A Models3Insulation-Oven Door4Keps Nut 8-325Screw 8-32 x 1/2``6Glass-Oven Door7Frame-Oven Door8Cushion-Door Glass9Handle-Oven Door10Screw-10-32x1/2``11Screw 10-16x7/16``12Retainer-Insulation13Gasket-Oven Door14Selector Switch14All 23541A Models14Main Top14All 23542A Models14Plug-Oven Door Lining14Controls