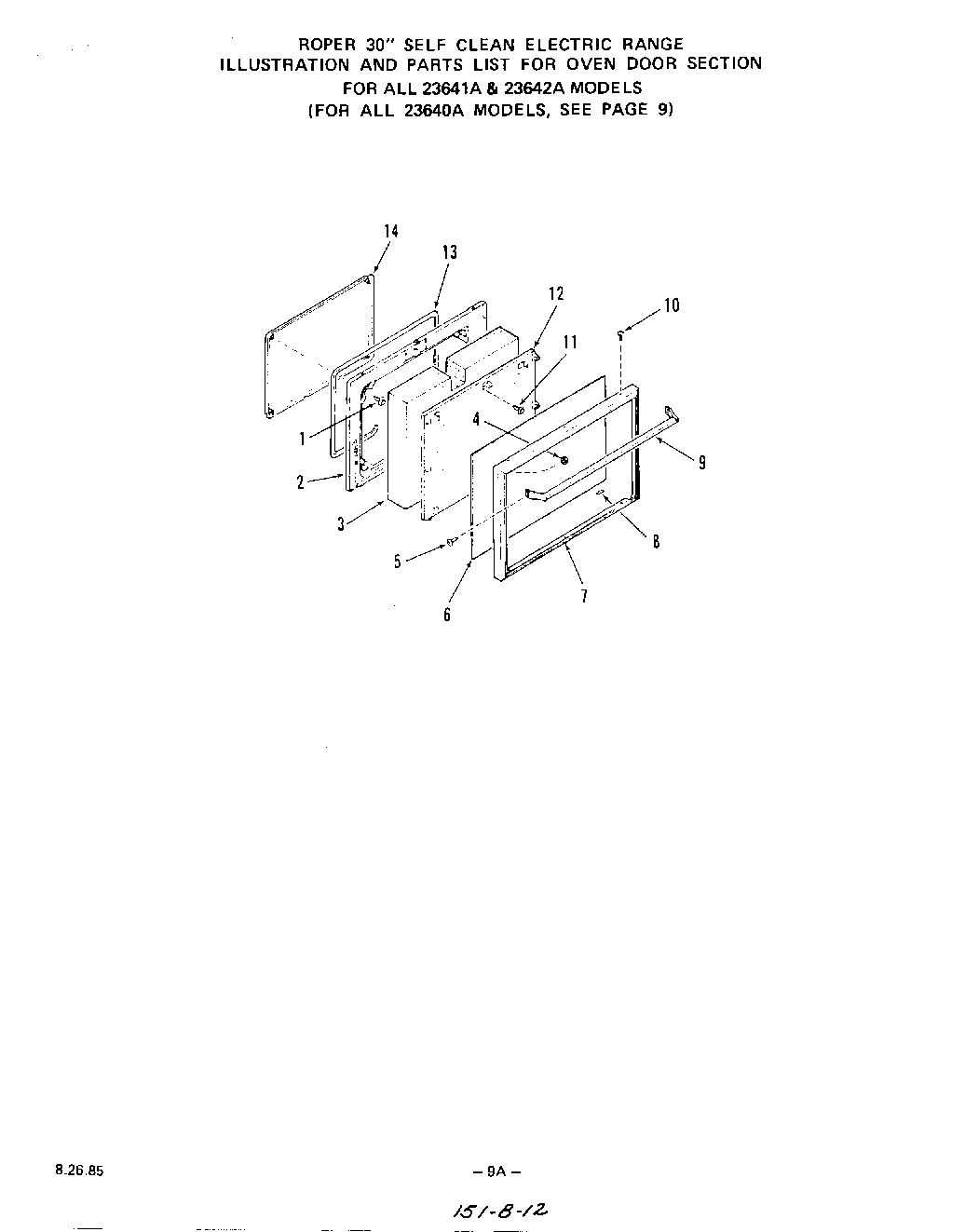
2354W1A 10 – SECTIONadmin2025-04-26T10:54:06+00:002354W1A 10 – SECTION ProductsPositionProductxWire Harness218850A Models2Lining-Oven Door2All 23542A Models3Insulation-Oven Door4Keps Nut 8-325Screw 8-32 x 1/2``6Glass-Oven Door7Frame-Oven Door8Cushion-Door Glass9Handle-Oven Door10Screw-10-32x1/2``11Screw 10-16x7/16``12Retainer-Insulation13Gasket-Oven Door14All 23542A Models14All 23541A Models14Controls14Selector Switch14Main Top14Plug-Oven Door Lining