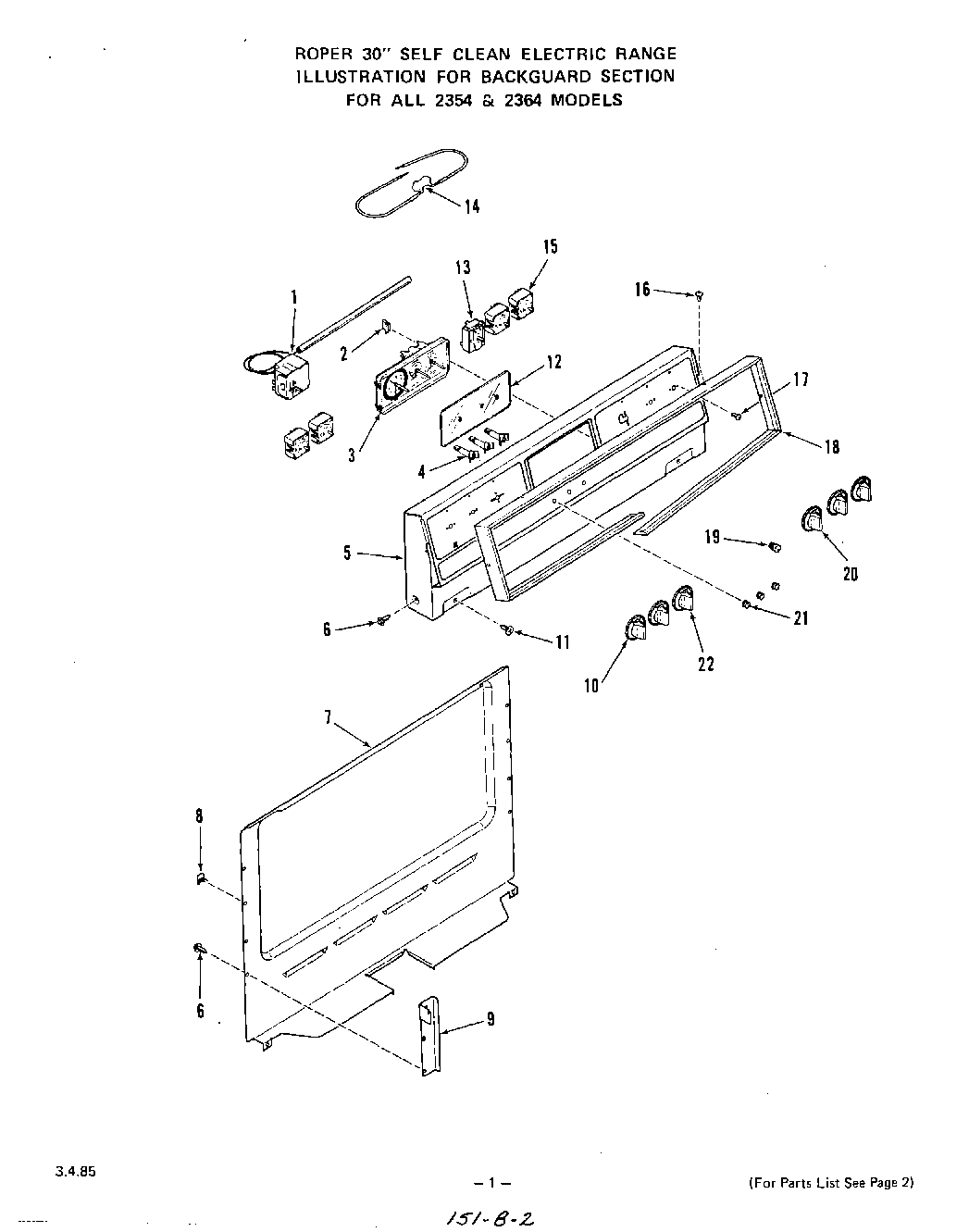
2354W2A 02 – BACKGUARD