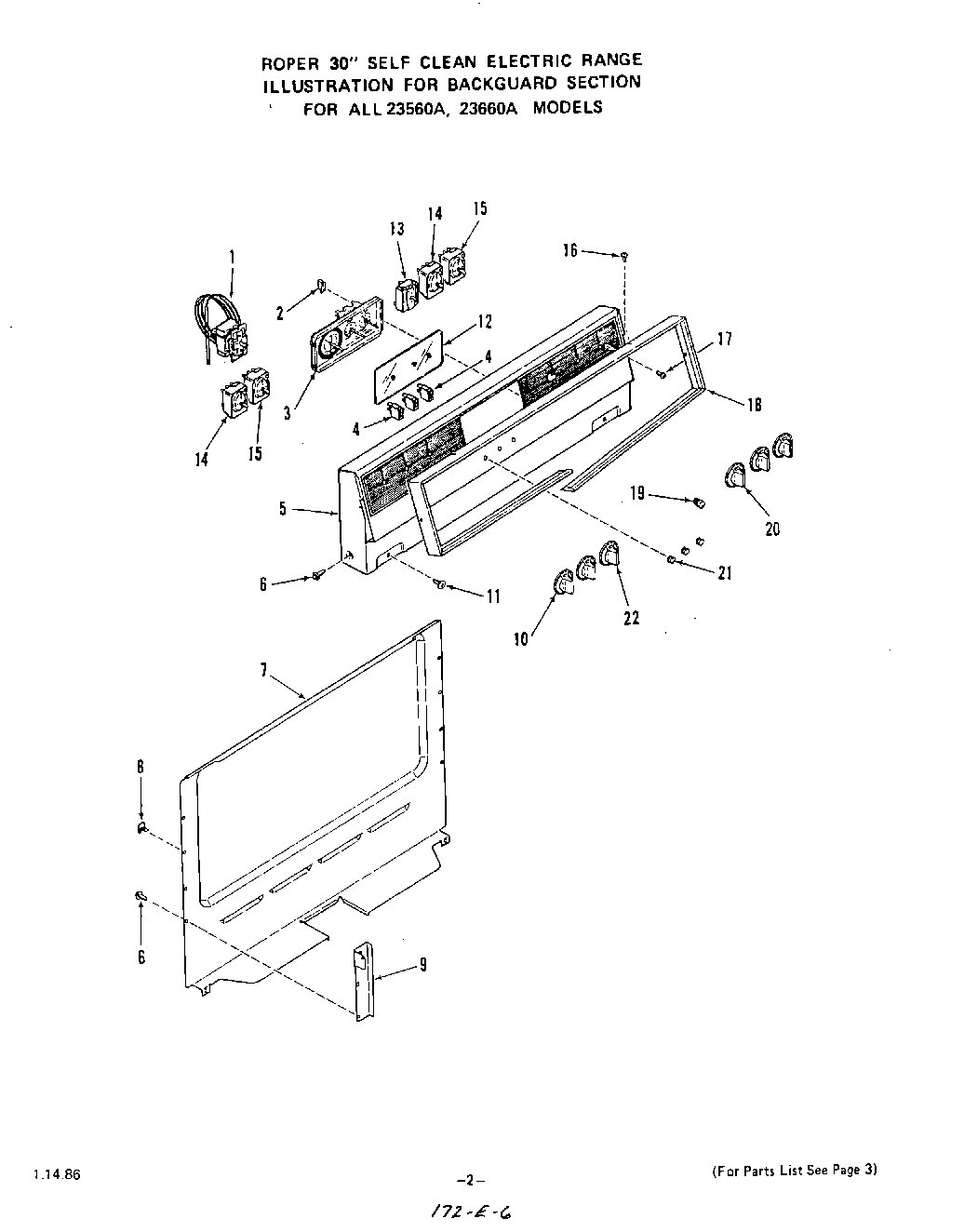
| 1 | Oven Thermostat |
| 2 | Clip-Clock (4 Req) |
| 3 | WPL 333049 |
| 4 | Indicator Light |
| 4 | Oven |
| 4 | Indicator Light |
| 5 | White |
| 5 | Almond |
| 5 | Toast |
| 5 | Platinum |
| 5 | Black |
| 5 | Panel-Backguard |
| 6 | Screw 10-16x7/16`` |
| 7 | Cover-Backguard Wire |
| 8 | Clip |
| 9 | Support-Backguard |
| 9 | Support-Backguard (Right) |
| 9 | Support-Backguard (Left) |
| 10 | Knob-Infinite Control (4 Req) |
| 11 | Screw 10ABx1/2`` |
| 12 | Clock Glass |
| 13 | Selector Switch |
| 14 | Infinite Control (Left) |
| 15 | Infinite Control (Right) |
| 16 | Screw 6-20x3/8`` |
| 17 | WPL 78565 |
| 18 | Bezel-Backguard |
| 19 | Knob-Clock (Start & Stop Time) |
| 20 | Knob-Selector |
| 21 | Lens-Indicator Light |
| 22 | Knob-Thermostat |