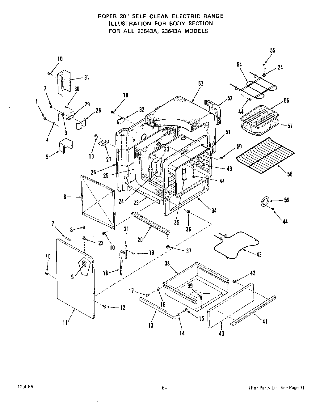
| 1 | Screw 10-32x7/16`` |
| 2 | Hex Nut 10-32 |
| 3 | Ground Strap |
| 4 | Washer |
| 5 | Wire Shield-Lower |
| 6 | Retainer-Insulation (Lt. or Rt.) |
| 7 | Spacer-Main Top (2 Req) |
| 8 | Screw 6-32x7/8`` |
| 9 | Bracket-Body Side (Lt. or Rt.) |
| 11 | Platinum |
| 11 | Almond |
| 11 | White |
| 11 | Body Side (Lt. or Rt.) |
| 11 | Toast |
| 11 | Body Side (Lt. or Rt.) (Black) |
| 12 | Screw 8ABx5/8`` |
| 13 | Support-Storage Drawer (Lt. or Rt.) |
| 14 | Front Slide Block-(Lt. or Rt.) |
| 15 | Screw 10-32x17/32`` |
| 16 | Rear Slide Block - Lt. or Rt. |
| 17 | Screw 8 - 32 x 3/8`` |
| 18 | Spring-Oven Door (Lt. or Rt.) |
| 18 | All 2354 Models |
| 18 | Spring-Oven Door (Lt. or Rt.) |
| 19 | Screw |
| 20 | Base w/Levelers (Lt. or Rt.) |
| 21 | Hinge-Oven Door |
| 21 | Right |
| 21 | Left |
| 22 | Strike-Main Top (Lt. or Rt.) |
| 23 | Retainer-Bottom Insulation |
| 25 | Insulation-Oven Back & Bottom |
| 26 | Main Back |
| 27 | Range Service Mounting Plate |
| 28 | Insulation-Service Cord |
| 29 | Junction Block |
| 30 | Screw 10-32x1`` |
| 31 | Shield-Upper Wire |
| 32 | Oven Relay |
| 33 | Cover Plate-Thermostat Bulb |
| 34 | Front Frame |
| 35 | Tube-Vent |
| 36 | BURNER RECEPTACLE KIT |
| 37 | Leg Leveler (4 Req) |
| 38 | Storage Drawer |
| 39 | WPL 316365 |
| 40 | Panel-Front Storage Drawer |
| 40 | WPL 328355 |
| 40 | WPL 328347 |
| 40 | WPL 326077 |
| 40 | WPL 326073 |
| 40 | WPL 326078 |
| 41 | Handle-Broiler Door |
| 42 | WPL 295850 |
| 43 | WPL 325883 |
| 44 | Screw 10-16x7/16`` |
| 49 | Cover |
| 50 | Clip-Thermostat Bulb (2 Req) |
| 51 | WPL 331578 |
| 52 | WPL 303097 |
| 53 | Insulation-Oven Top & Sides (1 Piece) |
| 54 | WPL 326360 |
| 55 | Support-Broiler Element |
| 56 | WPL 326297 |
| 57 | WPL 331592 |
| 58 | Oven Rack (2 Req) |
| 59 | WPL 326935 |