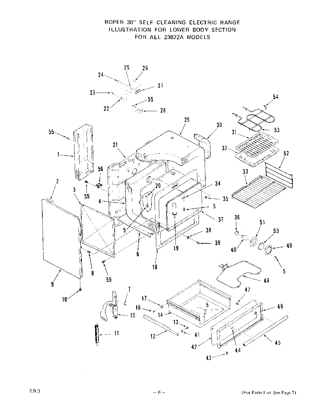
2382^2A 05 – LOWER BODY