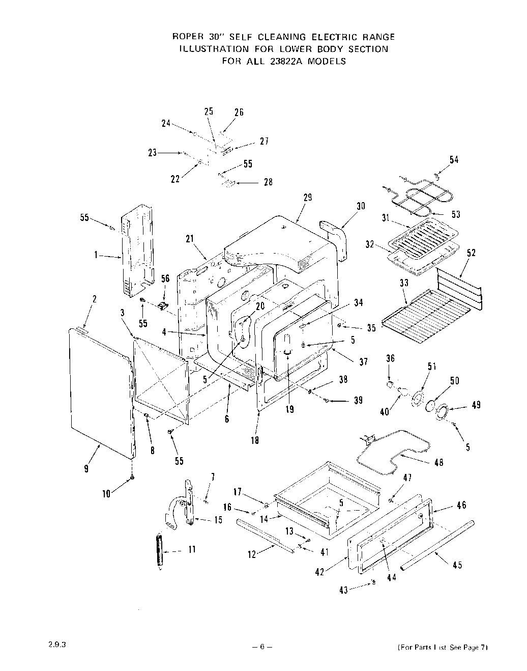
| 1 | Wire Shield |
| 2 | Spacer-Main Top |
| 3 | Retainer-Insulation (Lt. or Rt.) |
| 4 | Insulation-Oven Back & Bottom |
| 5 | WPL 316365 |
| 6 | window, oven door |
| 7 | Screw 10-32 x 5/8`` |
| 8 | Grommet - Screw (8 Req.) |
| 9 | Body Side-Lt. (Coffee) |
| 9 | Almond-Left |
| 9 | Almond-Right |
| 9 | Wheat-Left |
| 9 | White-Left |
| 9 | White-Right |
| 9 | Body Side-Lt. (Avocado) |
| 9 | Avocado |
| 9 | Coffee |
| 9 | Wheat-Right |
| 10 | Leg Leveler (4 Required) |
| 11 | Bracket, Receptacle |
| 12 | Support-Storage Drawer (Lt. or Rt.) |
| 13 | Screw 10-32x17/32`` |
| 14 | Storage Drawer |
| 15 | Right |
| 15 | Left |
| 16 | Screw 8 - 32 x 3/8`` |
| 17 | Rear Slide Block - Lt. or Rt. |
| 18 | Front Frame |
| 19 | Vent Tube |
| 20 | Cover Plate-Thermostat Bulb |
| 21 | Main Back |
| 22 | Washer |
| 23 | Screw 10-32x7/16`` |
| 24 | G.M. Hex Nut 10-32 |
| 25 | Ground Strap |
| 26 | Screw 10-32x1`` |
| 27 | Junction Block |
| 28 | Range Service Mounting Plate |
| 29 | Insulation-Oven Top & Sides (1 Piece) |
| 30 | WPL 303097 |
| 31 | WPL 319159 |
| 32 | WPL 319158 |
| 33 | Oven Rack (2 Req) |
| 34 | Cover |
| 35 | Thermostat Bulb-Retainer (2 Req) |
| 36 | Holder-Oven Light Bulb |
| 37 | Oven Body |
| 38 | Washer |
| 39 | WP303896 Whirlpool High Limit Thermostat |
| 40 | Oven Lamp Bulb |
| 41 | Front Slide Block-(Lt. or Rt.) |
| 42 | Front Panel-Storage Drawer (Black) |
| 43 | Screw 6-32x3/8`` |
| 44 | Spacer |
| 45 | WPL 286357 |
| 46 | Frame-Front Panel |
| 47 | Screw 10 - 32 x 1/2`` |
| 48 | Bake Element |
| 49 | Retainer-Oven Light Lens |
| 50 | Lens-Oven Light |
| 51 | Gasket-Lens |
| 52 | Knob-Lock Handle |
| 53 | Broil |
| 54 | Support-Broiler Element |
| 55 | WP112432 Whirlpool Nut Assembly |
| 56 | Ballast |