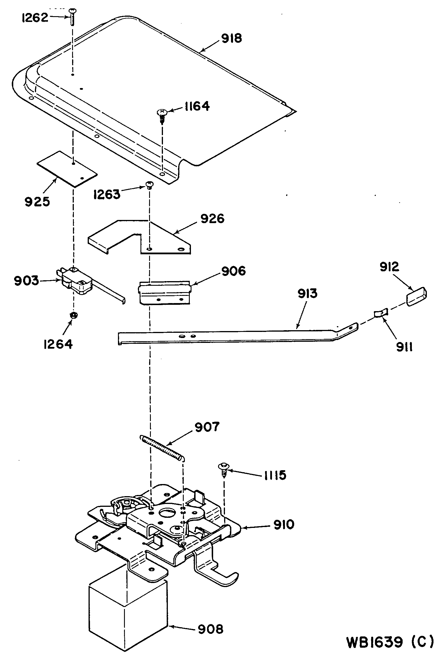
24488W0 3