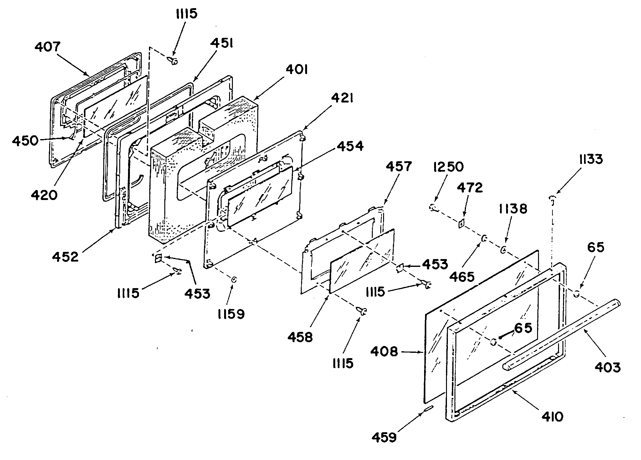
| 65 | DOOR HANDLE SPACER-BLACK |
| 401 | INSULATION |
| 403 | OV DOOR HANDLE |
| 407 | DOOR LINING PLUG |
| 408 | WB56X1902 GE Oven Outer Glass |
| 410 | UNKNOWN |
| 420 | INNER DOOR GLASS |
| 421 | INSULATION RETAINER |
| 450 | WB2X9168 GE Oven Seal |
| 451 | WB2X9373 GE Oven Gasket |
| 452 | DOOR BAFFLE |
| 453 | GEN WB02X9177 |
| 454 | CENTER GLASS |
| 457 | GEN WB02X9178 |
| 458 | OV DR INTERMED GLASS-UP |
| 459 | GEN WB02X9036 |
| 465 | UNKNOWN |
| 472 | GLASS RETAINER |
| 1115 | WB1M1 GE Oven Screw |
| 1133 | WB1K5191 GE Oven Zinc FL Screw |
| 1138 | FIBER WASHER |
| 1159 | FELT WASHER |
| 1250 | GEN WB01X1250 |