24688L0 4
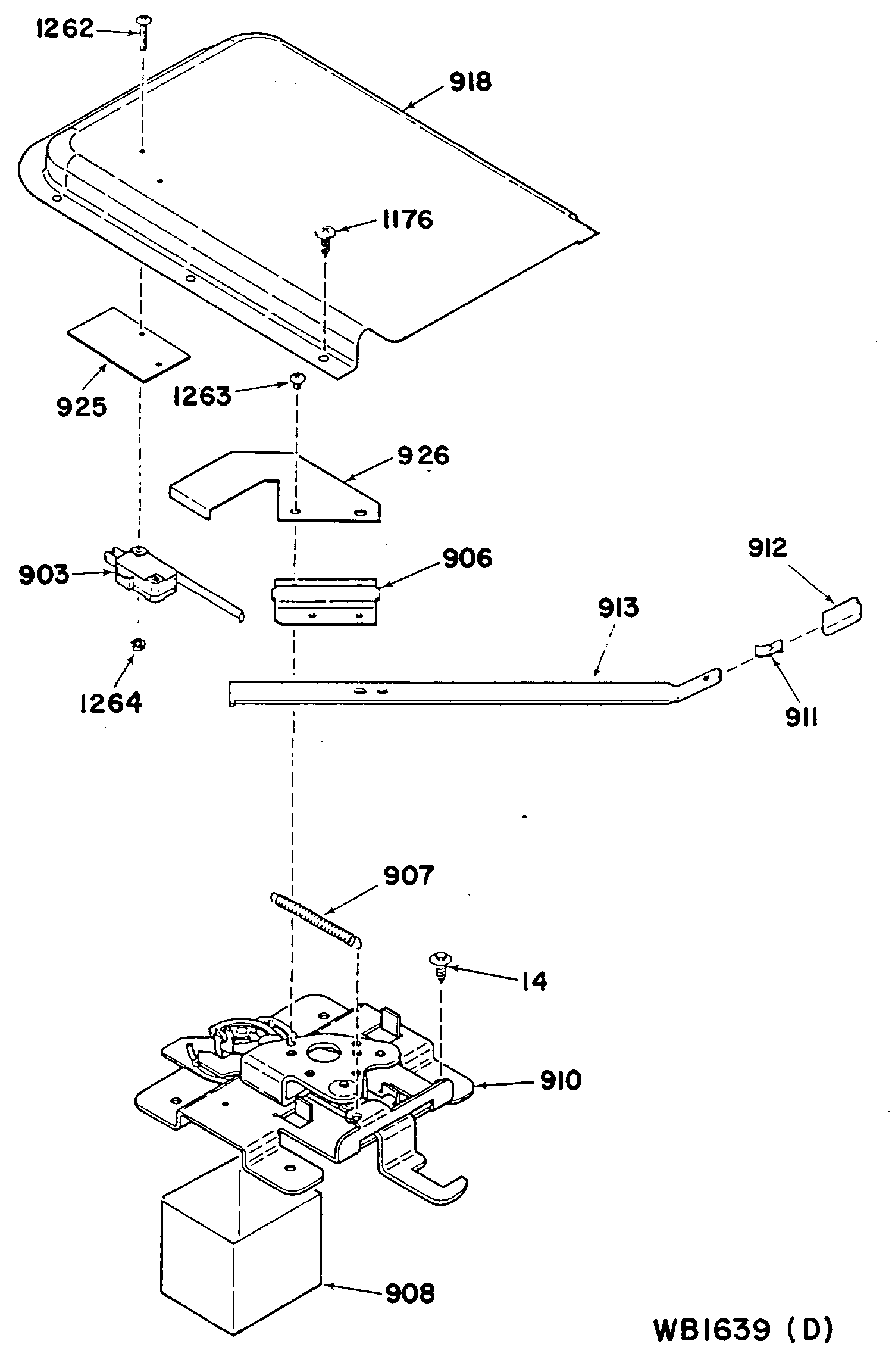
Products
| Position | Product |
|---|---|
| 903 | GEN WB24X0416 |
| 906 | LATCH HANDLE RETAINER |
| 907 | LOCK SPRING |
| 908 | UNKNOWN |
| 910 | GEN WB14X0128 |
| 911 | GEN WB01X9404 |
| 912 | LOCK KNOB |
| 913 | LATCH HANDLE |
| 918 | LOCK COVER ASM |
| 925 | SWITCH INSULATOR |
| 926 | LEVER SWITCH |
| 1176 | SCREW |
| 1262 | GEN WB01X1262 |
| 1264 | GEN WB01X1264 |