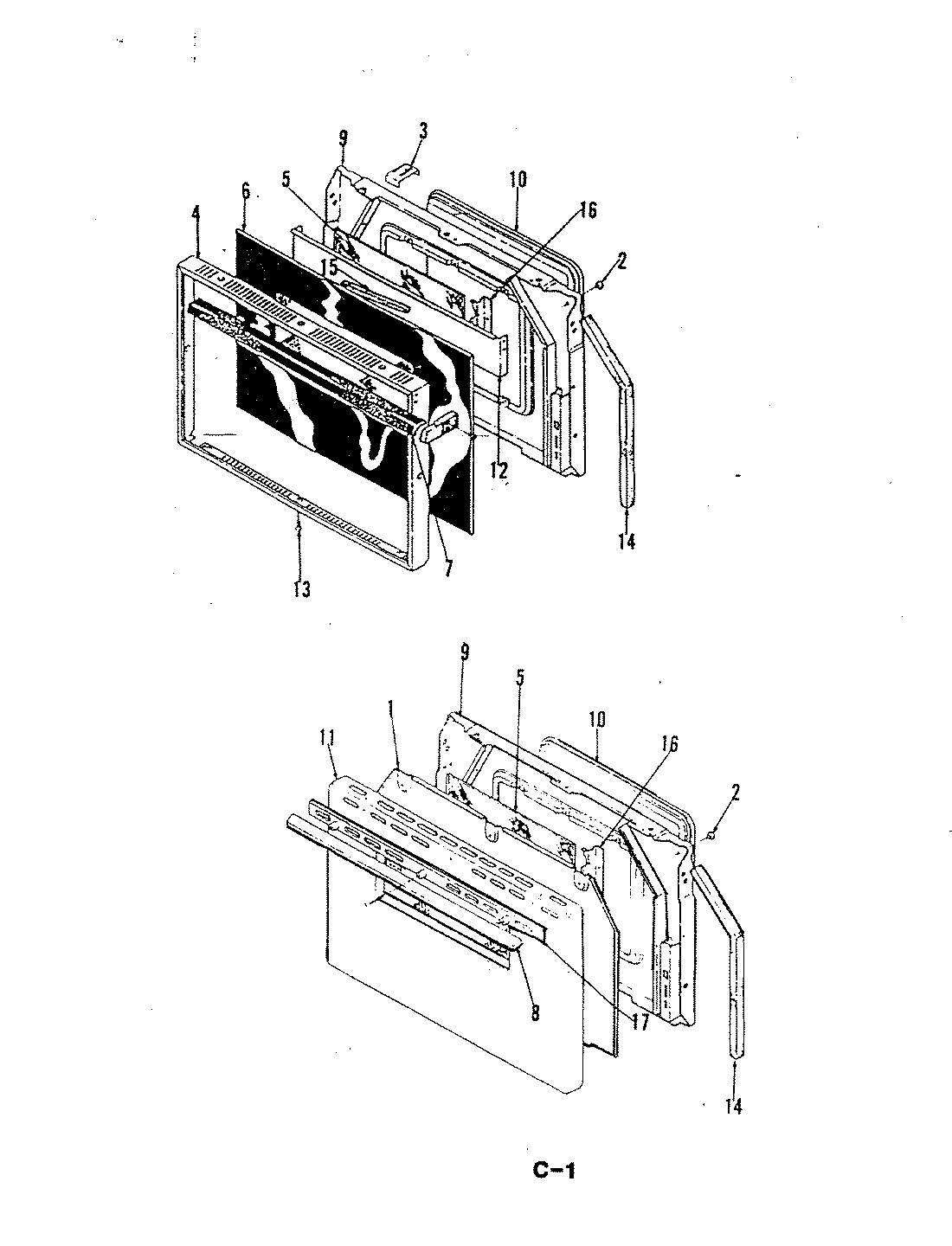
24FK-6CKXW 04 – DOOR (LOWER)admin2025-04-26T09:10:51+00:0024FK-6CKXW 04 – DOOR (LOWER) ProductsPositionProduct1MAY 3601F0581MAY 2410F015-512MAY 11352242MAY 17842003MAY 7112E0313MAY 7706E0154MAY 7706P222-604MAY 13132694MAY 7706P243-604MAY 7706E0075MAY 7902E0976MAY 7902E0657MAY 7701E0198MAY 2404F0158MAY 7728E0129MAY 2402W128-159MAY 2422H0829MAY 2402W125-1210MAY 2430F01610MAY 2416F027-7011MAY 158421111MAY 158420912MAY 3804F04013MAY 198625814MAY 172625015MAY 179030015MAY Y011224115MAY 172625216MAY 3804J03817NOT REQUIRED PART OR SEE NOTE FUSE (NOT REQUIRED)18MAY 5700A084-60