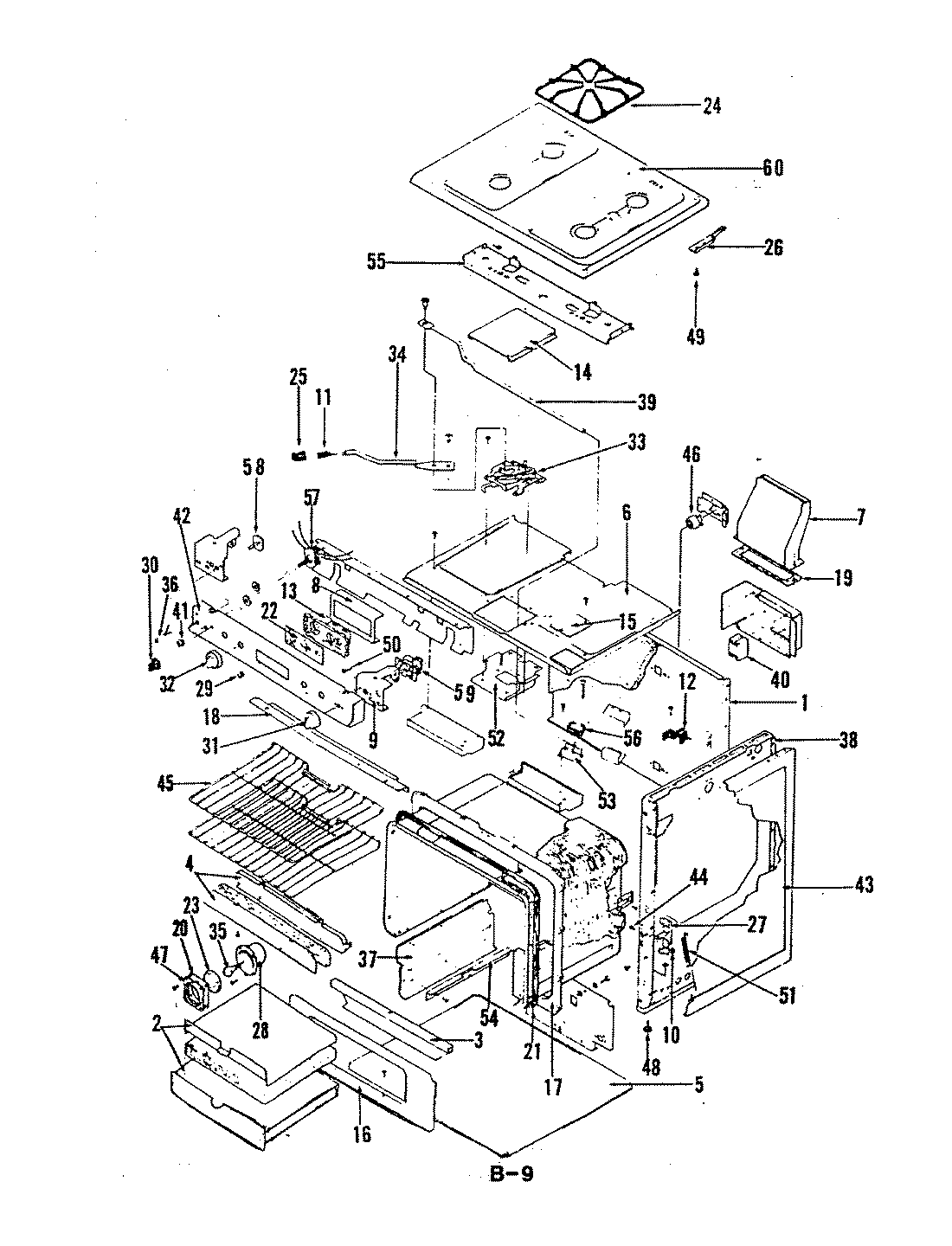
24FN-6CKXW 01 – BODY (LOWER)