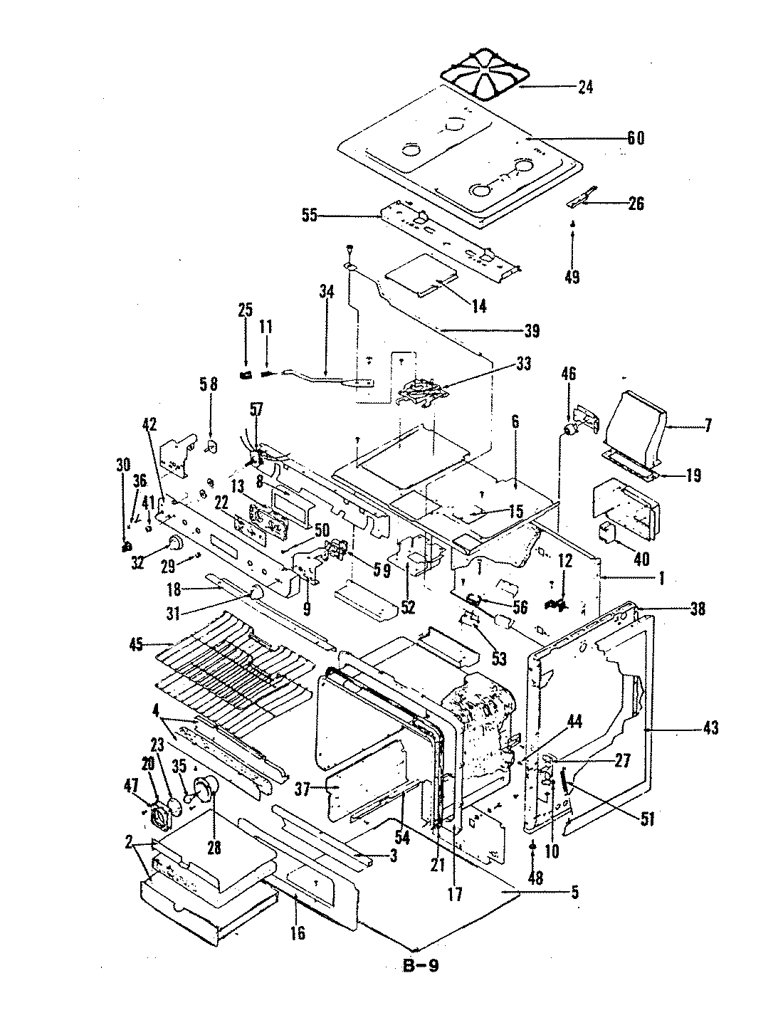
24FY-6CKXW 01 – BODY (LOWER)admin2025-04-26T09:08:03+00:0024FY-6CKXW 01 – BODY (LOWER) ProductsPositionProduct1MAY 4002F068-202MAY 01533323MAY 3601F100-124MAY 7116E0024MAY 3601F108-124MAY 18672105MAY 4011F079-206MAY Y02342816MAY 4011J0677MAY 4006W026-137MAY 3801F0938MAY 02843038MAY 3801F0828MAY 02843278MAY 3801F0908MAY 02843049MAY 028430610MAY 101320711MAY 114123311MAY 7112E00312MAY 114123713MAY 7601P042-6014MAY 4005F167-2014MAY 4005J13715MAY 4005F13916MAY 046223217MAY 2201C02518MAY 4012F01319MAY 7201P026-6020MAY 131326021MAY 131327922MAY 132713523MAY 132778424MAY Y050521825MAY 7701E00326MAY 7105P002-6027MAY 3418F029-3427MAY 3418F030-3428MAY 050724328MAY 053725329MAY 135926330MAY 7711E10630MAY 7711P381-6031MAY 7731P020-6031MAY 7711E10732MAY 7711P173-6032MAY 7733P038-6033MAY 8002P015-6033MAY 8002E00934MAY 8009P003-6034MAY 8009P007-6035MAY 107720236MAY 140625037MAY 060639138MAY 4009W040-8038MAY 4009W059-8039MAY 8021E00140MAY 152210241MAY Y066321541MAY 155526542MAY 7712A014-6043MAY 2618F073-7643MAY 0801240Y44MAY 158420445MAY 163625546MAY 166920446MAY 165720247MAY 074922748MAY 198621449MAY 198633950MAY 3604F05950MAY 198633750MAY 176221751MAY 179030052MAY 3807F18853MAY 3807F193-54MAY 086244655MAY 086247056MAY 7403E04057MAY 183239958MAY 7403E01559MAY 7515P020-6059MAY 7515E00560MAY 191631460MAY 191631360MAY 2001F035-9660MAY 7746P025-6060MAY 7746P026-6060MAY 0901288Y61MAY 7402P003-6061MAY 7402P025-6062MAY 8112P034-6062MAY 8112P009-60