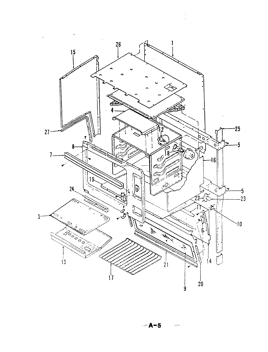
24FY-6CKXW 02 – BODY (UPPER)