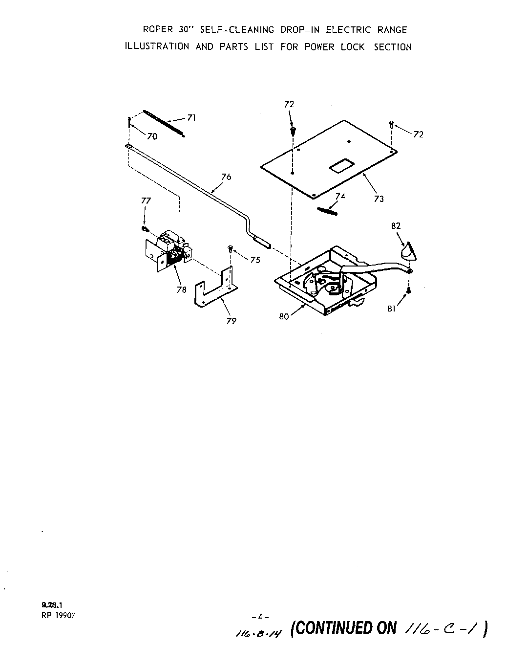
| 70 | Cotter Pin |
| 71 | Spring-Solenoid |
| 72 | Screw 10-32x17/32`` |
| 73 | Lock Plate |
| 74 | Spring-Lock Handle |
| 75 | WP112432 Whirlpool Nut Assembly |
| 76 | Rod-Oven Door Lock |
| 77 | Screw 10 - 32 x 1/4`` |
| 78 | Solenoid w/Switch |
| 79 | Switch, Light Monitor (Alt.) |
| 80 | Oven Door Lock Box Asm. (Inc. Key 74) |
| 81 | Screw 6-32x15/32`` |
| 82 | Knob-Oven Door Lock Handle |