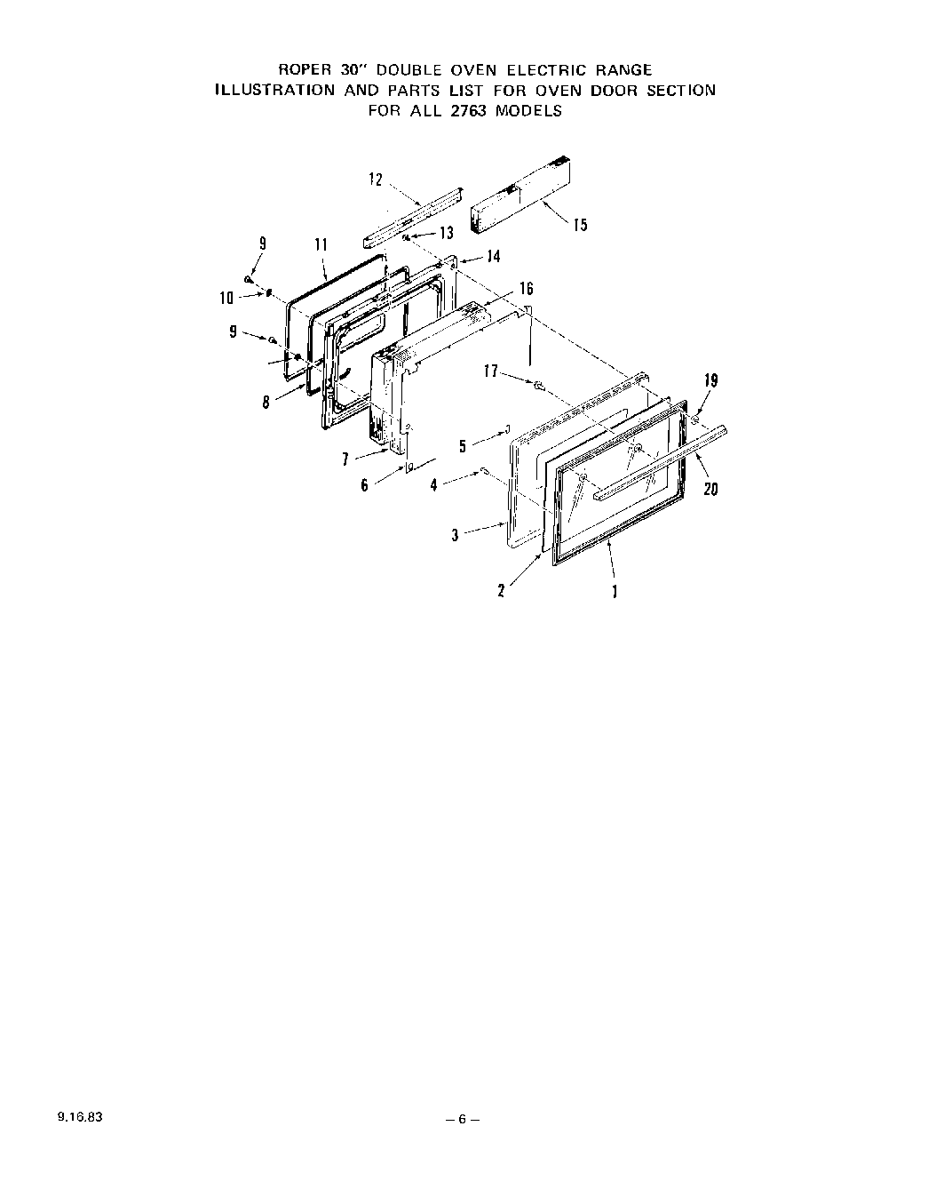
2763W0A 05 – UPPER OVEN PEDESTALadmin2025-04-26T10:52:25+00:002763W0A 05 – UPPER OVEN PEDESTAL ProductsPositionProduct1Frame-Door Glass2Oven Door Glass3Black3Golden Wheat3Almond3White3Front Panel-Oven Door4Screw 10 - 32 x 1/4``5Cushion-Door Glass6Retainer-Insulation7Cover, Rear8Gasket-Oven Door9Screw 10-32 x 1/2``10WPL 2106711Plug-Oven Door Lining12Stiffener-Oven Door13Screw 10-32x2 3/4``14Lining-Oven Door15W11169039 Whirlpool Dishwasher Dish Rack16Insulation-Oven Door Plug17Screw 10-32x1``19Spacer20Handle