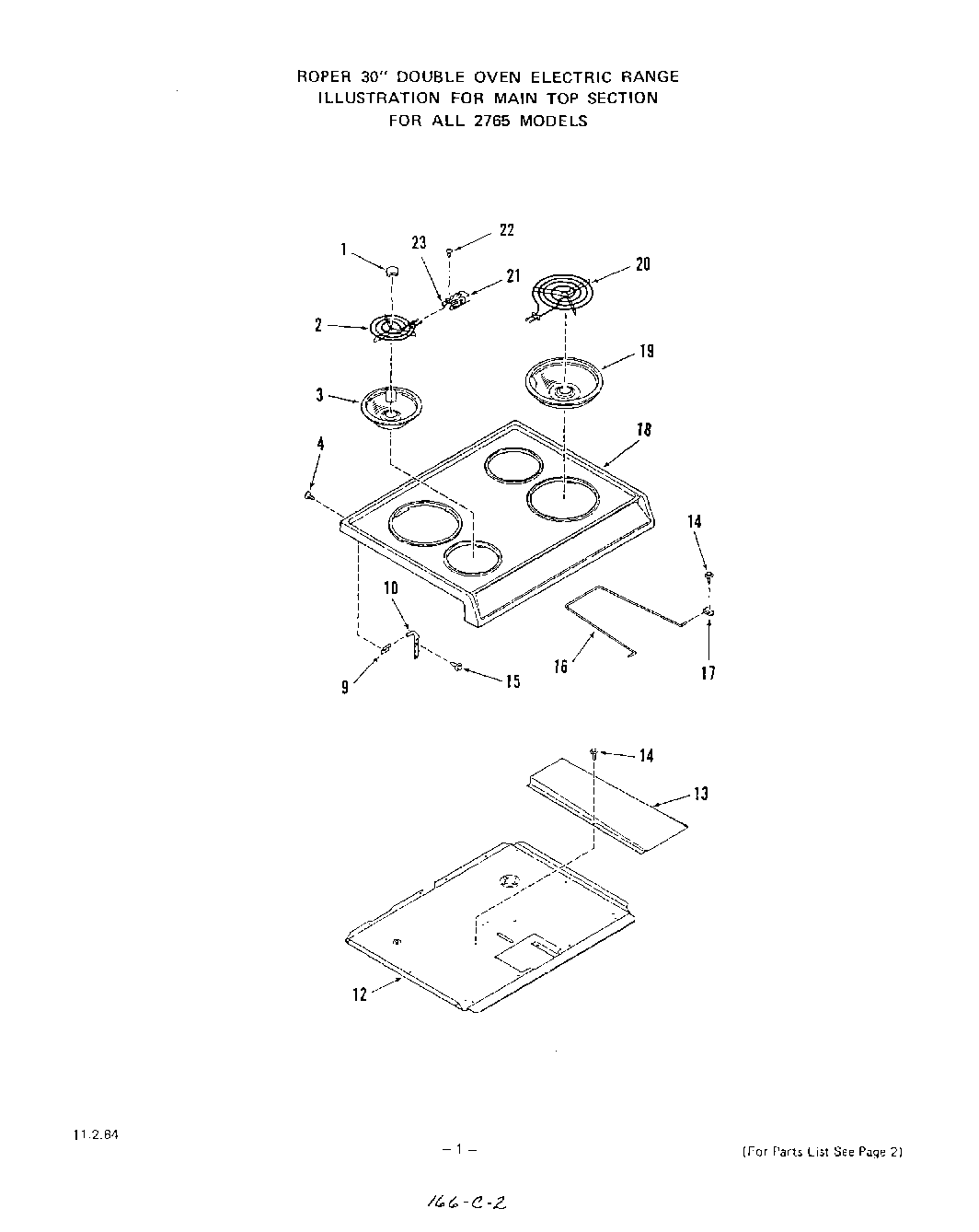
| 1 | Medallion (2 Req) All 2101 Models |
| 2 | 6`` Surface Unit (Lt. Front & Rt. Rear) |
| 3 | 6`` Burner Bowl (1 Req) All 2101 Models |
| 4 | Screw 10ABx1/2`` |
| 9 | Bracket-Main Top Hinge (2 Req) |
| 10 | Right |
| 10 | Left |
| 12 | Burner Box Bottom |
| 13 | Switch, Fluorescent Light |
| 14 | Screw 10-16x7/16`` |
| 15 | WPL 321162 |
| 16 | Support Rod-Main Top |
| 17 | Clip |
| 18 | Platinum |
| 18 | Toast |
| 18 | Almond |
| 18 | White |
| 18 | Main Top (Chrome) |
| 19 | 8`` Burner Bowl (1 Req) All 2101 Models |
| 20 | 8`` Surface Unit (Rt. Front & Lt. Rear) |
| 21 | Term. Block w/Leads-All 2101 Models |
| 22 | Screw 7-32x5/16``(2 Req) All 2101 Models |
| 23 | Bracket-Term. Block (2 Req) All 2101 Mod. |