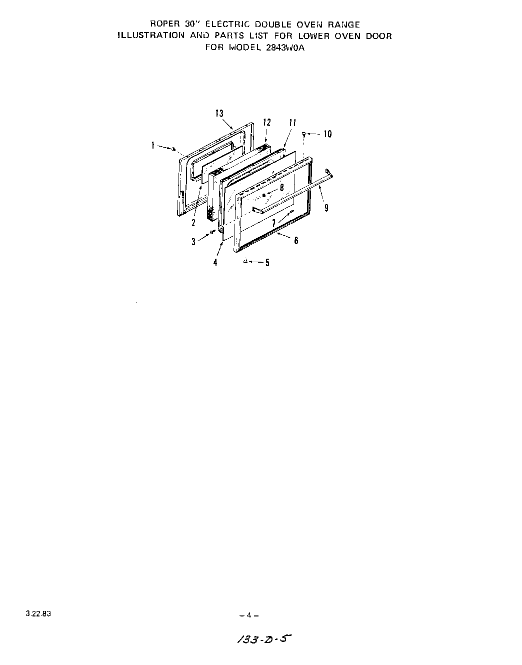
| 1 | WPY04100165 Whirlpool Surface Element |
| 2 | Inner Glass-Oven Door |
| 3 | Screw 8-32 x 1/2`` |
| 4 | Outer Glass-Oven Door |
| 5 | Screw 10-32 x 1/2`` |
| 6 | Frame-Door Glass |
| 7 | Cushion-Door Glass |
| 8 | Keps Nut 8-32 |
| 9 | Handle-Oven Door |
| 10 | Screw 6Ax3/8`` |
| 11 | Retainer - Oven Door Insulation |
| 12 | Insulation |
| 13 | Lining - Oven Door |