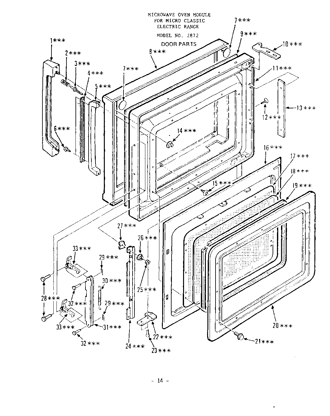
| 1 | Door Handle with Plastic Stripxxx |
| 2 | Spring, Door Handle |
| 3 | Shaft, Door Handle |
| 4 | Metal Reinforcement |
| 5 | Handle Grip |
| 6 | Screw, Bind Hd. Tapping, 3 x 8 mm, ZK-1 |
| 7 | Cushion, Glass Barrier |
| 8 | Door Sash with Metal Trimmingxxx |
| 9 | Glass Barrier |
| 10 | Upper Hinge, Door |
| 11 | Door Main Frame |
| 12 | Screw, Flat Hd. Tapping, 3 x 8 mm, ZK-1 |
| 13 | Ferrite Rubber |
| 14 | Nut, Hex Hd. with Washer, 4 mm, Z1-1 |
| 15 | Screw, Truss Hd. Tapping, 3 x 6 mm, Z1-2 |
| 16 | Choke Dielectric with Ferrite Rubber |
| 17 | Perforated Screen |
| 18 | Glass Panel |
| 19 | Door Seal |
| 20 | Retaining Frame, Perforated Screen |
| 21 | W11729437 Whirlpool Retaining Bracket |
| 22 | Lower Hinge Door |
| 23 | Screw, Truss Hd. Machine, 4 x 10 mm Z1 |
| 24 | Latch Lever |
| 25 | Nut, Hex, Hd. 3 mm, Z1 |
| 26 | Nut, Hex Hd. with Washer, 3 mm, Z1 |
| 27 | Rubber Packing, Handle Shaft |
| 28 | W11023674 Whirlpool Compactor Leveling Wheel |
| 29 | Stopper, Latch Lever Shaft |
| 30 | Spring, Door Latch |
| 31 | Screw & Washer Assembly (2) |
| 32 | W11672206 Whirlpool Leveling Wheel |
| 33 | Door Latch |