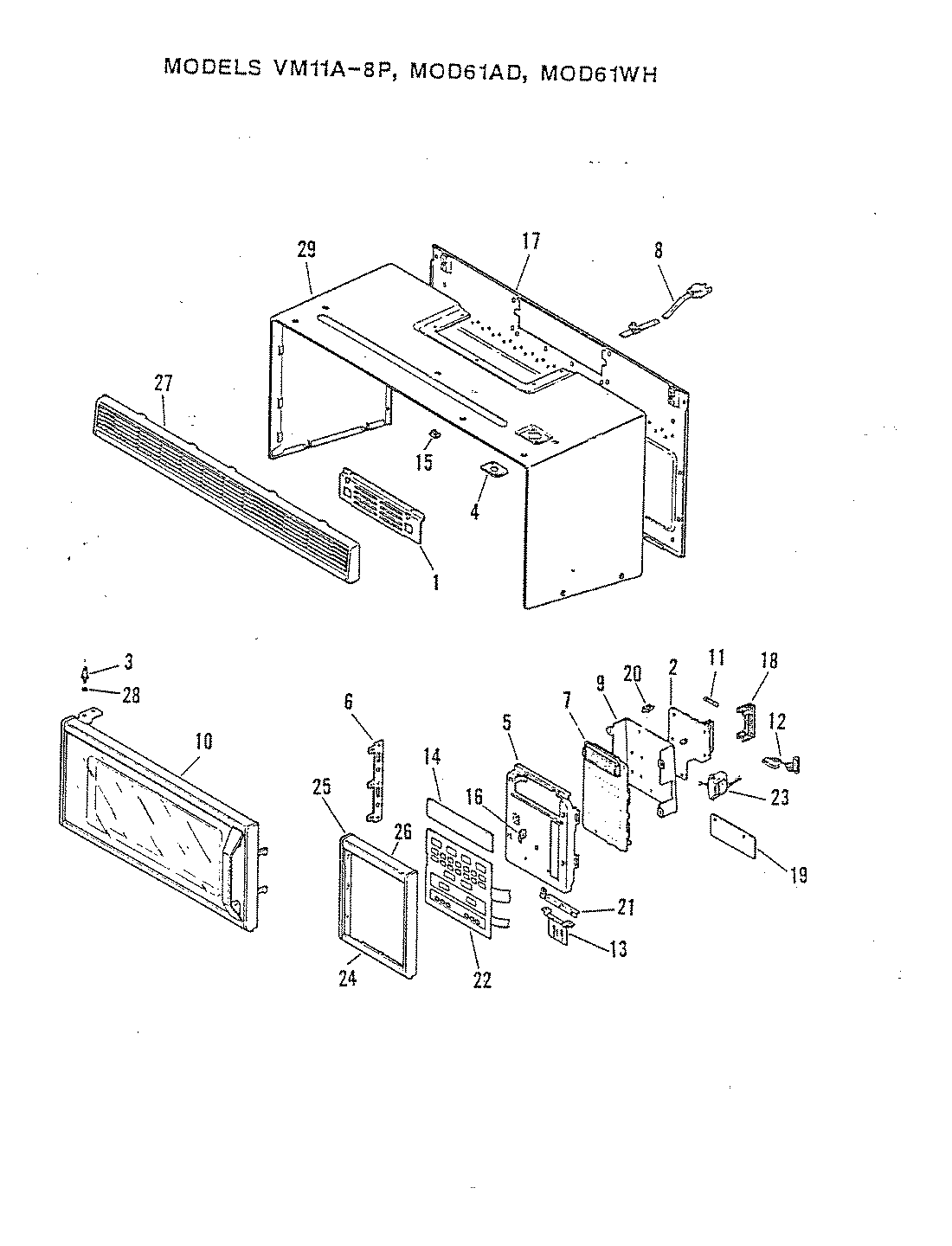
28FA-6CXWV8-DZ 05 – MICROWAVE-UPPER (VM11A-8P)