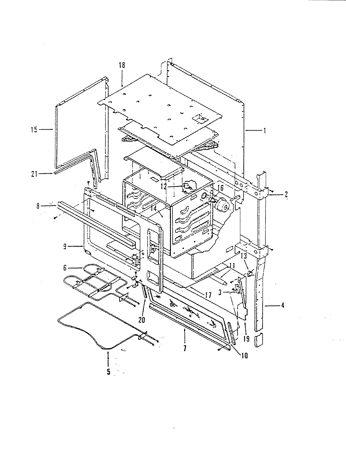
28FA-7CXW-94 02 – BODY (UPPER)admin2025-04-26T09:09:42+00:0028FA-7CXW-94 02 – BODY (UPPER) ProductsPositionProduct1MAY 09031021MAY 10232002MAY 02772503MAY 02842904MAY 3818F029-514MAY 11412075MAY 19383596MAY 19383607MAY 12595638MAY 12595649MAY 046223710MAY 132710311MAY 144720012MAY 107720213MAY 244822714MAY Y060639315MAY 176321515MAY 163625115MAY 0801242A15MAY 0801241A16MAY 165720217MAY 180420117MAY 074922517MAY 7403P096-6018MAY 090228419MAY 091932520MAY 191693621MAY 7720P102-6021MAY 7720P101-6021MAY 1259610