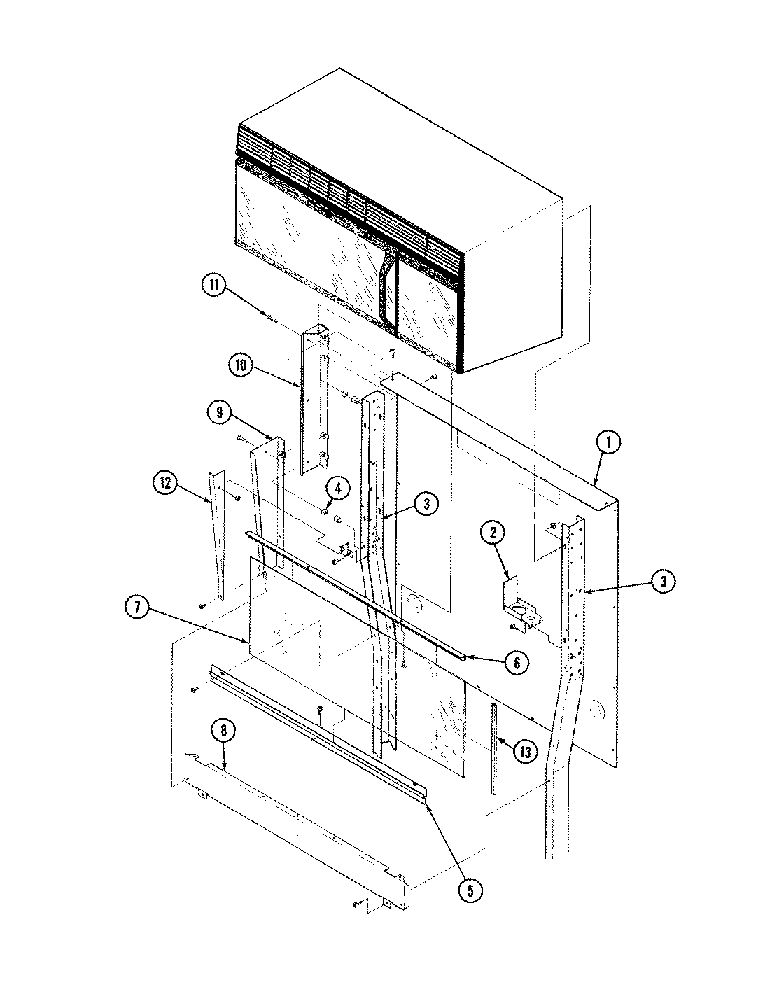
28FA-7CXWV8 02 – BODY (UPPER)