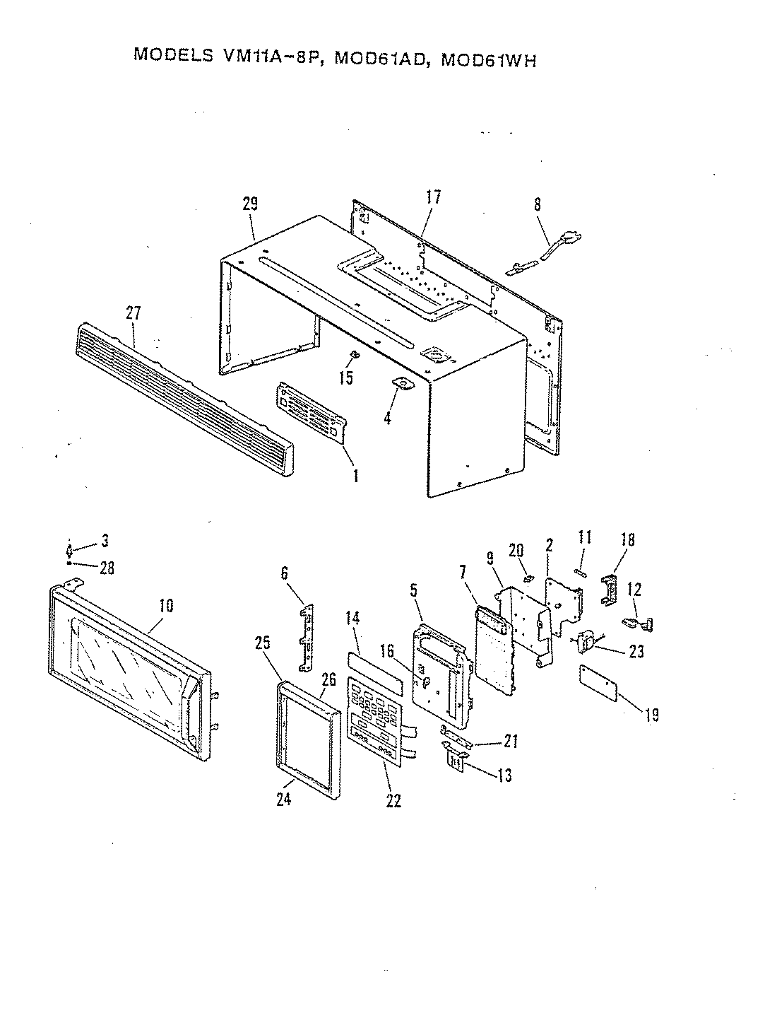
28FA-7CXWV8 05 – MICROWAVE-UPPER (VM11A-8P)admin2025-04-26T09:09:16+00:0028FA-7CXWV8 05 – MICROWAVE-UPPER (VM11A-8P) ProductsPositionProduct1MAY 2080-00032MAY 2125-00053MAY 3005-01124MAY 2145-00435MAY 2145-00516MAY 2145-00457MAY 2125-00048MAY 2270-00019MAY 2275-002810MAY 2325-000511MAY 2435-000112MAY 2515-000113MAY 2520-001014MAY 2655-000715MAY 2735-002216MAY 2845-002217MAY 2845-002117MAY 3005-011118MAY 3030-000719MAY 3030-000820MAY 3065-000721MAY 3130-001622MAY 3135-005823MAY 3215-001024MAY 3230-007425MAY 3230-007526MAY 3230-007327MAY 3265-000328MAY 3280-003329MAY 3295-0001