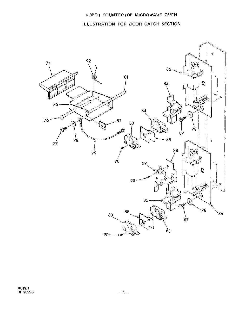
2961000 04 – DOOR CATCHadmin2025-04-26T10:52:25+00:002961000 04 – DOOR CATCH ProductsPositionProduct74Handle-Door Releasexxx75Bracke-Door Releasexxx77Screw 10 - 32 x 1/2``78Washer79Ground Wirexxx81Pin-Door Releasexxx82Speed Nut 10 - 3283Switch-Latchxxx84Switch-Oven Light85Actuator-Swithcxxx86Mounting Bracket-Switchxxx87Screw 10 - 32 x 17/32``88Insulation-Switchxxx89Switch-Monitor90Screw 1ABx1/4``xxx92Springxxx