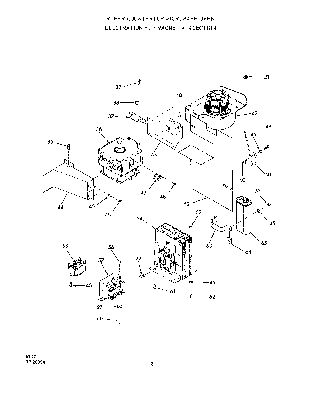
| 35 | Screw 10-32x17/32`` |
| 36 | Magnetronxxx (2961020) |
| 36 | Magnetronxxx (2961000, 2961010) |
| 37 | Spring, Door Stop (2) |
| 38 | Flange Nutxxx |
| 39 | Screw 8-32x3/8`` |
| 40 | Keps Nut 10-32 |
| 41 | Screw 10-32x3/8``xxx |
| 42 | Blower Asm. w/Motorxxx |
| 43 | Blower Duct-Magnetronxxx (2961020) |
| 43 | Blower Duct-Magnetronxxx (2961000, 2961010) |
| 44 | Inlet Duct-Cavityxxx (2961020) |
| 44 | Inlet Duct-Cavityxxx (2961000, 2961010) |
| 45 | Lockwasher |
| 46 | Screw 8 - 32x3/8`` |
| 47 | Thermostatxxx |
| 48 | Screw 4-40x1/4`` |
| 50 | WP681249 Whirlpool Screw Assembly |
| 51 | WPL 295850 |
| 52 | Air Barrier |
| 53 | Keps Nut 10-24 |
| 54 | Transformer-Hi Voltage |
| 55 | Speed Nut |
| 56 | Keps Nut 8-32 |
| 57 | Transformer-control |
| 58 | Relay-Pwer |
| 59 | Washer |
| 60 | Screw 8-32x3/8`` |
| 61 | Screw 10Bx1/2`` |
| 62 | Screw 10-24x1/2`` |
| 64 | Speed Nut 10 - 32 |
| 65 | Capacitor-Hi Voltage |