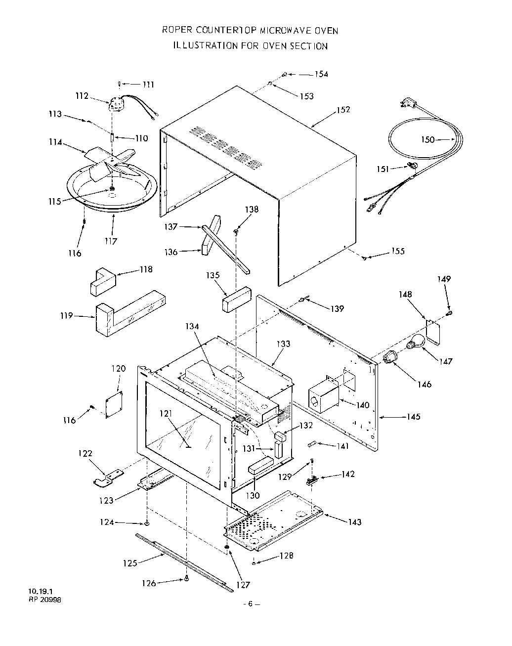
2961010 05 – OVEN