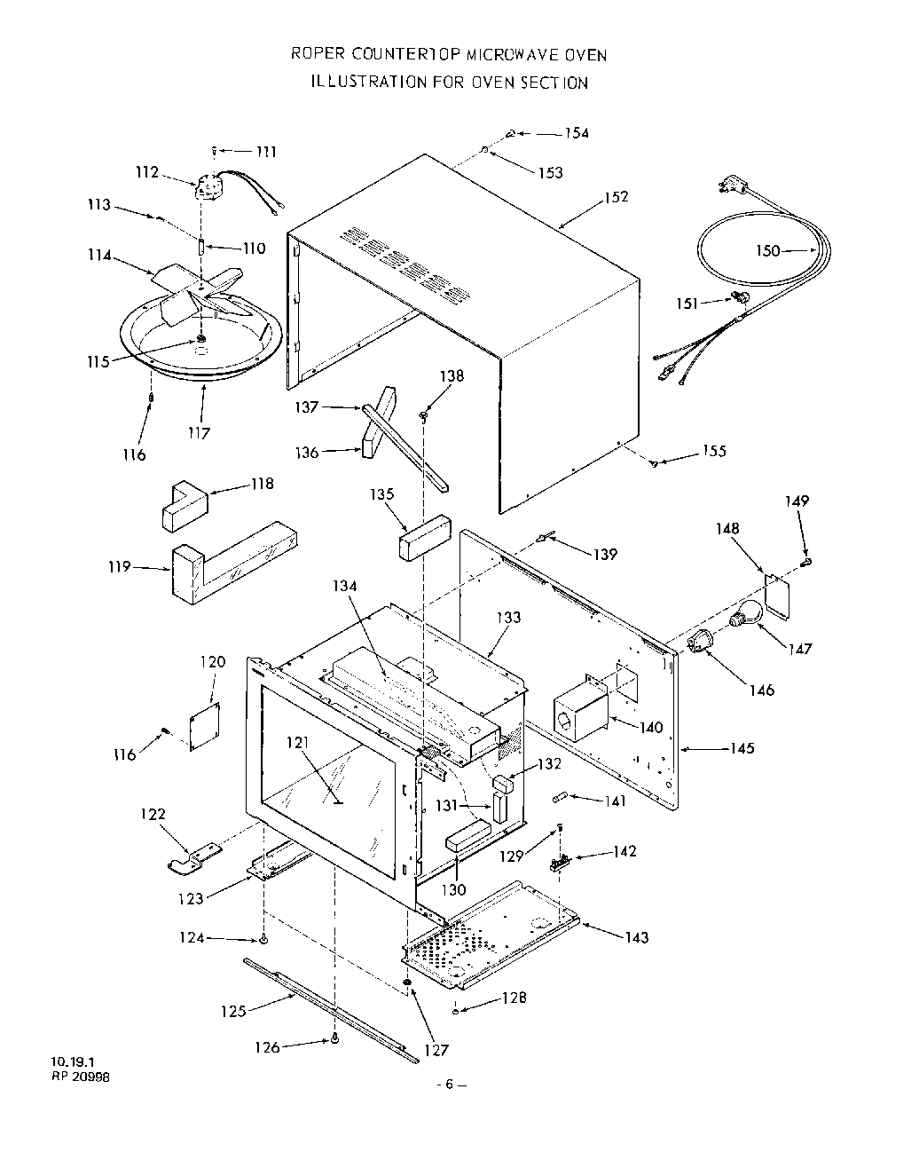
| 110 | Shaft-Stirrerxxx |
| 111 | Screw 4-40x1/4`` |
| 112 | Stirrer Motorxxx |
| 113 | Retainer Clipxxx |
| 114 | Blade-Stirrerxxx |
| 115 | Nut |
| 116 | Accordian Rivetxxx |
| 117 | Cover-/Stirrerxxx |
| 118 | Duct-Wrapper Dischargexxx |
| 119 | Duct-Cavity Discargexxx |
| 120 | Cover-Oven Lightxxx |
| 121 | Glass Cook Shelfxxx |
| 122 | Bottom Hinge-Oven Doorxxx |
| 123 | Base Supportxxx |
| 124 | Screw 10-32x3/8``xxx |
| 125 | Barrier-Intrusionxxx |
| 126 | WPL 232183 |
| 127 | Keps Nut 10-32 |
| 128 | Rivet-Plastic (4 Req.) |
| 129 | Screw 6-32x1/4`` |
| 130 | Foam Strip 4`` x 3/4`` x 1 1/8``xxx |
| 131 | Foam Strip 2-1/2`` x 3/4`` x 3/4``xxx |
| 132 | Foam Strip 1-1/2`` x 3/4`` x 3/4``xxx |
| 133 | Oven Capacity Complete (Inc. 121) |
| 134 | Shifter-Phasexxx |
| 135 | Duct-Wrapper Dischargexxx |
| 136 | Foam Strip 7-5/8`` x 3/4`` x 1-5/8``xxx |
| 137 | Foam Strip 14`` x 3/8`` x 1/2``xxx |
| 138 | Screw 10-32x17/32`` |
| 139 | Pop Rivetxxx |
| 140 | Housing-Oven Lightxxx |
| 141 | Fuse Onlyxxx |
| 142 | Element, 2600 Watt |
| 143 | Base-Component Mounting |
| 145 | Main Backxxx |
| 146 | Holder-Oven Light Bulb |
| 147 | Oven Lamp Bulb |
| 148 | Access Platexxx |
| 149 | WPL 295850 |
| 150 | Service Cordxxx |
| 151 | Strain Relief |
| 152 | Wrapper Cabinetxxx |
| 153 | Lockwasherxxx |
| 154 | Screw 8-32 x 3/8`` |
| 155 | Screw 6-32 x 5/16`` |