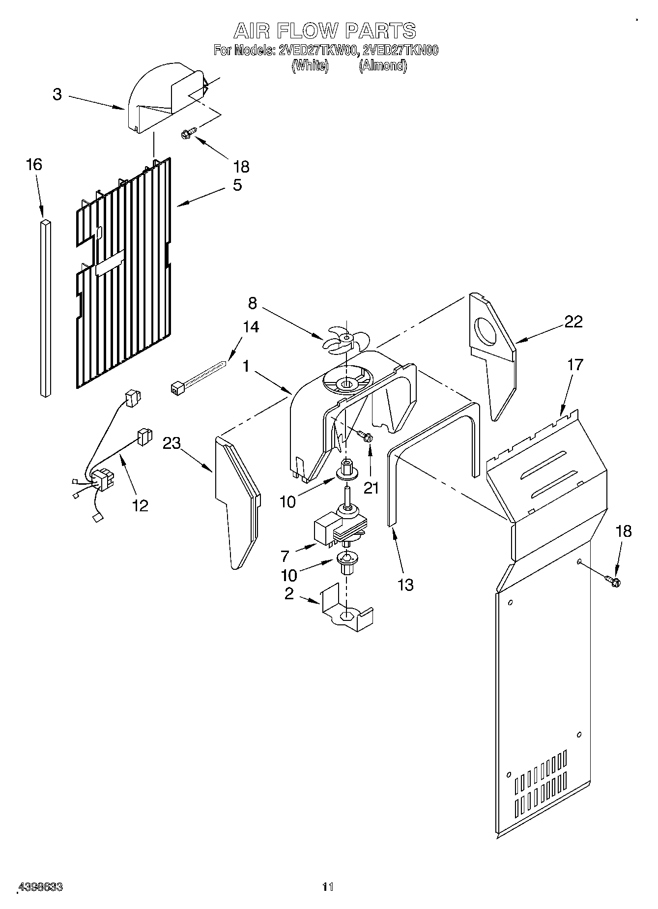
2VED27TKN00 06 – AIR FLOW