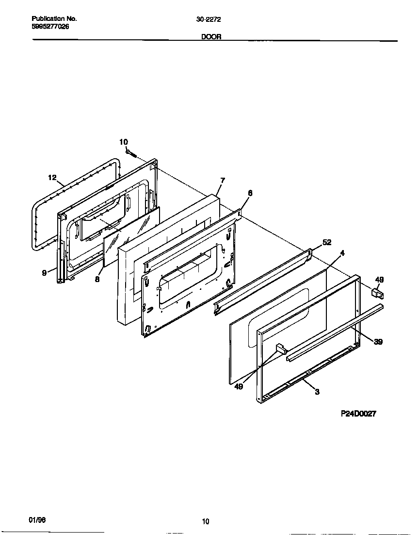
30-2272-00-05 06 – DOOR