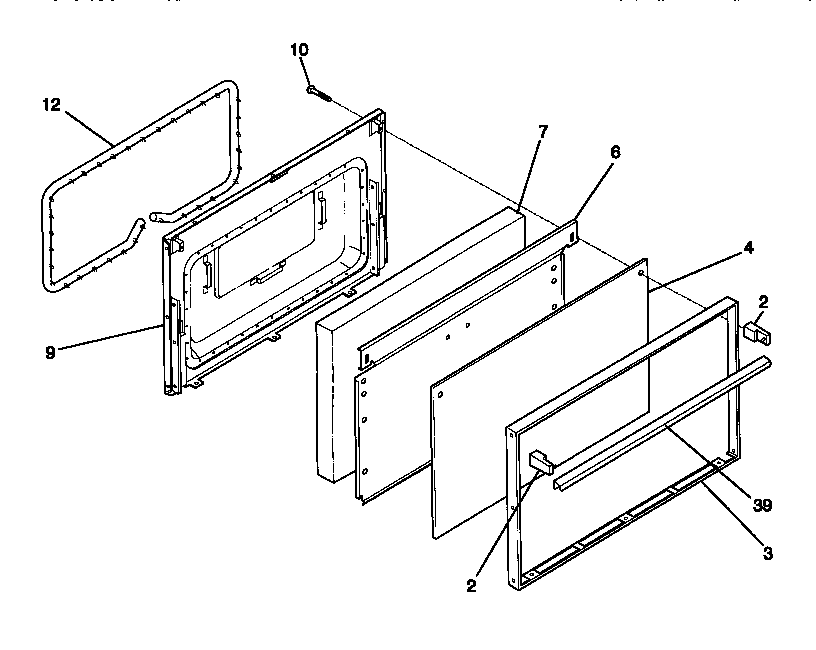
30-3852-23-05 06 – DOOR